LEMON Manuals: Even more car manuals for everyone: 1960-2025
Home >> Honda >> 2010 >> Pilot 2WD V6-3.5L >> Repair and Diagnosis >> Relays and Modules >> Relays and Modules - Restraints and Safety Systems >> Air Bag Control Module >> Service and Repair >> SRS Unit Replacement
April 5, 2026: LEMON Manuals is launched! Read the announcement.

SRS Unit Replacement




SRS Unit Replacement

Removal

1. Do the battery terminal disconnection procedure Procedures, then wait at least 3 minutes before starting work.

2. Remove the center console trim from both sides Center Console Removal/Installation.

3. Disconnect SRS unit connectors A (39P) and B (39P). Remove the TORX bolts (C) using a TORX T30 bit.

NOTE: The SRS unit connectors have lever locks. Release the locks before disconnecting the connectors.






4. Remove the TORX bolts (A) using a TORX T30 bit, then pull out the SRS unit (B).






Installation

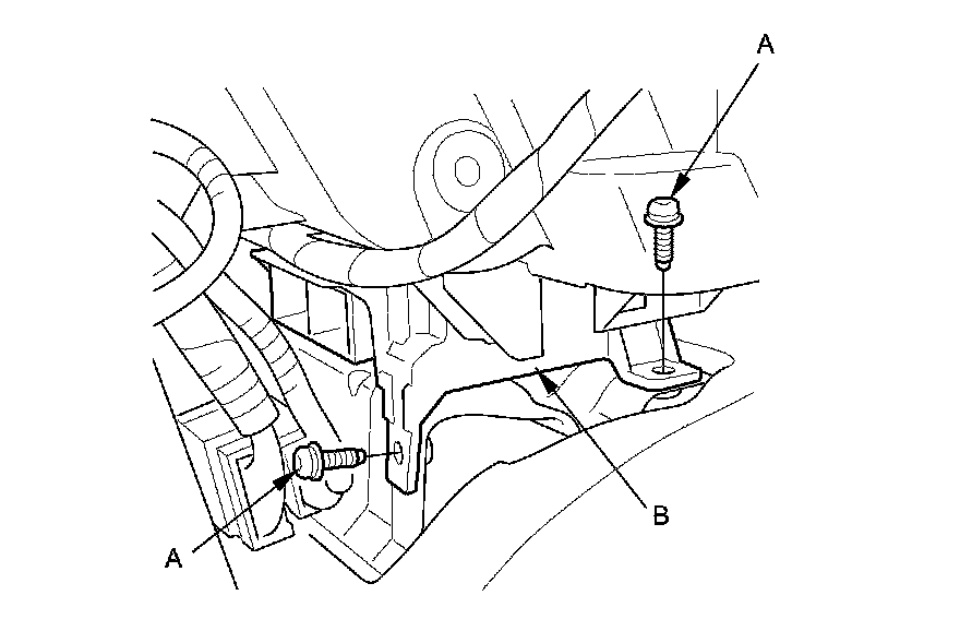
1. Install the SRS unit (A) with new TORX bolts (B) using a TORX T30 bit.

NOTE: Be sure the SRS unit is sitting squarely against its bracket before torquing the TORX bolt.






2. Install the new TORX bolts (A), using a TORX T30 bit, then connect the connectors (B) to the SRS unit; push them into position until they click.






3. Do the battery terminal reconnection procedure Procedures.

4. Make sure the SRS unit has the latest software. If it does not have the latest, update the software in the SRS unit SRS Unit Update.

5. Do the ODS unit initialization ODS Unit Initialization.

6. Check the operation of the ODS unit with the HDS ODS Unit Operation Check.

7. Confirm proper SRS operation: Turn the ignition switch ON (II); and check that the SRS indicator comes on for about 6 seconds and then goes off.

8. Reinstall all removed parts.