LEMON Manuals: Even more car manuals for everyone: 1960-2025
Home >> Honda >> 2011 >> CR-Z L4-1.5L Hybrid >> Repair and Diagnosis >> Powertrain Management >> Computers and Control Systems >> Fuel Level Sensor >> Service and Repair >> Fuel Tank Unit Removal/Installation
April 5, 2026: LEMON Manuals is launched! Read the announcement.

Fuel Tank Unit Removal/Installation




Fuel Tank Unit Removal and Installation

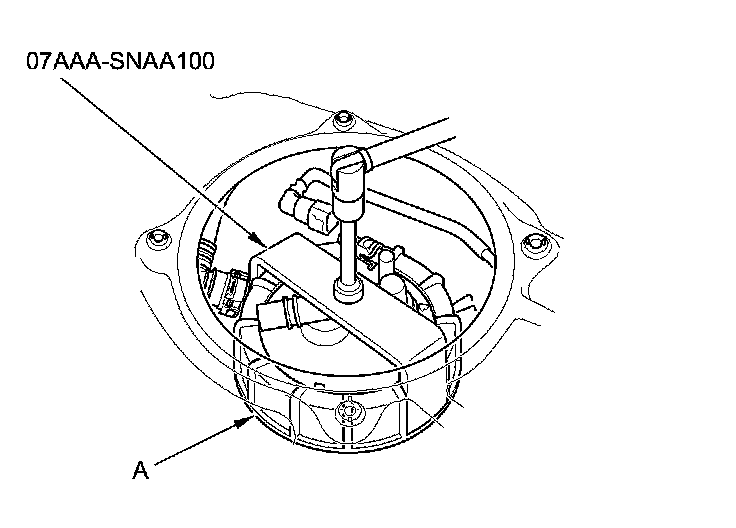
Special Tools Required

- Fuel Pump Module Locknut Wrench 07AAA-SNAA100

Removal

1. Relieve the fuel pressure Service and Repair.

2. Remove the rear tray.

3. Remove the access panel (A) from the floor.





4. Disconnect the fuel tank unit 4P connector (B).

5. Disconnect the quick-connect fittings (C) from the fuel tank unit Fuel Line/Quick-Connect Fitting Removal.

6. Using the special tool, loosen the locknut (A).






7. Remove the locknut (A), the locknut plate (B), and the fuel tank unit (C).






Installation

1. Temporarily attach a new base gasket (A) to the fuel tank unit (B), then insert the fuel tank unit partially into the fuel tank.

NOTE:

- Be careful not to damage the new base gasket.
- Be careful not to bend the fuel gauge sending unit.
- Do not coat the base gasket with oil.





2. Transfer the base gasket (A) from the fuel tank unit to the fuel tank.





3. Align the marks (B) on the fuel tank and fuel tank unit, then insert the fuel tank unit into the fuel tank until the fuel tank unit rests on top of the base gasket.

NOTE: To avoid a fuel leak, check the base gasket, visually or by hand, to make sure it is not pinched.

4. Using the special tool, tighten a new locknut (A) with a new locknut plate (B) to the specified torque.

NOTE: Before tightening, align the mark (C) on the locknut with the start of the threads (D).






5. Using the special tool, tighten the locknut (A) to the specified torque.

NOTE:

- After tightening, make sure the marks (B) are still aligned.
- After installation, check the base gasket, visually or by hand, to make sure it is not pinched.





6. Connect the fuel tank unit 4P connector, then connect the quick-connect fitting Fuel Line/Quick-Connect Fitting Installation.

7. Reconnect the negative cable to the 12 volt battery, and turn the ignition switch to ON (II). The fuel pump will run for about 2 seconds, and fuel pressure will rise. Repeat this two or three times, then make sure there are no fuel leaks.

8. Install the access panel.

9. Install the rear tray.

10. Install the fuel fill cap.