LEMON Manuals: Even more car manuals for everyone: 1960-2025
Home >> Honda >> 2011 >> Civic L4-1.8L >> Repair and Diagnosis >> Accessories and Optional Equipment >> Cellular Phone >> Testing and Inspection >> Component Tests and General Diagnostics >> HandsFreeLink Control Unit Input Test/Replacement (With Navigation)
April 5, 2026: LEMON Manuals is launched! Read the announcement.

HandsFreeLink Control Unit Input Test/Replacement (With Navigation)




HandsFreeLink Control Unit Input Test/Replacement

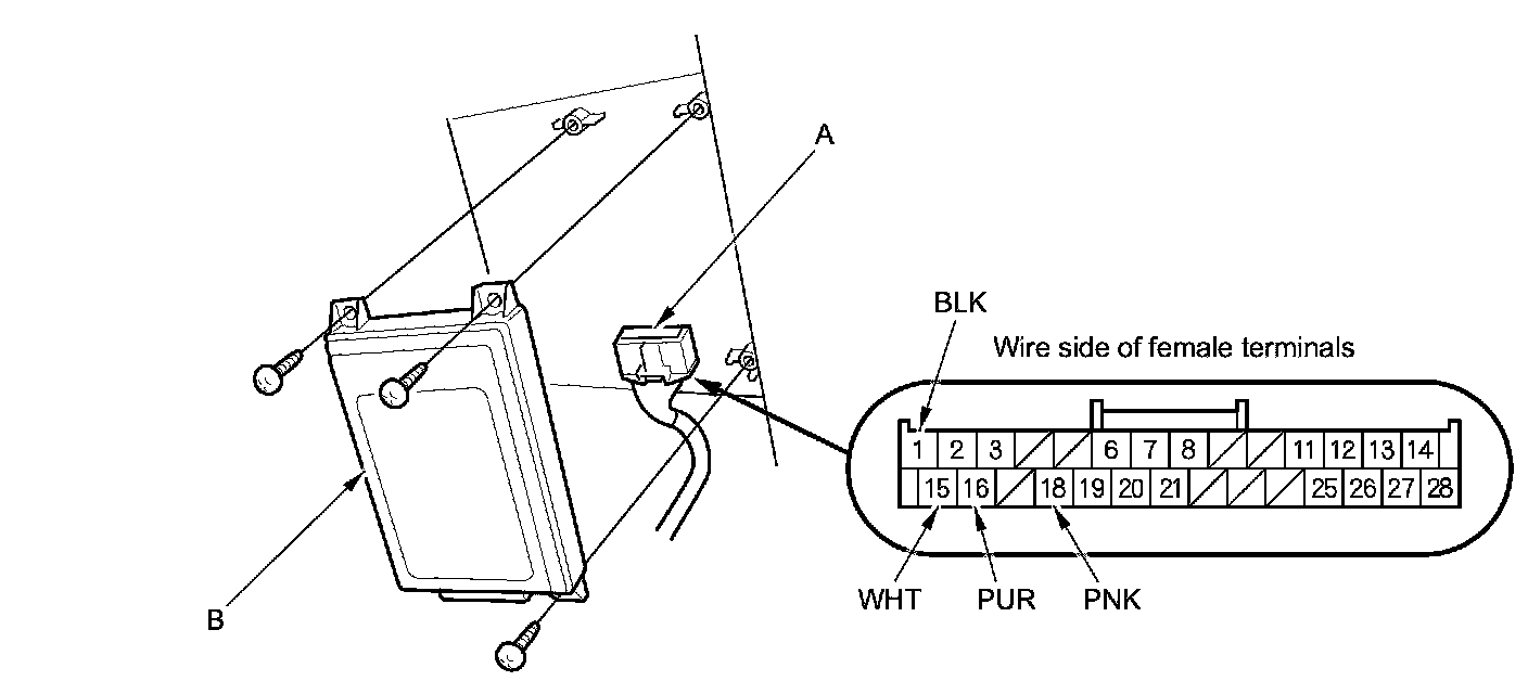
1. Remove the center console Center Console Removal/Installation.

2. Remove the console lower box Overhaul.

3. Disconnect the 28P connector (A) from the HandsFreeLink control unit (B).





4. Inspect the connector and socket terminals for a good pinfit to be sure they are all making good contact.

- If the terminals are bent, loose or corroded, repair them as necessary, and recheck the system.
- If the terminals look OK, go to step 5.

5. Reconnect the connector and make these input tests at the connector.

- If any test indicates a problem, find and correct the cause, then recheck the system.
- If all the input tests prove OK, go to step 6.





6. Disconnect the 28P connector again, and make this input test at the connector.

- If the test indicates a problem, find and correct the cause, then recheck the system.
- If the input test proves OK, the HandsFreeLink control unit must be faulty, replace it.