LEMON Manuals: Even more car manuals for everyone: 1960-2025
Home >> Honda >> 2011 >> Element EX, 2.4 YH2 >> Repair and Diagnosis (Single Page) >> Accessories & Equipment >> Infotainment >> Audio System >> System Description >> Audio Unit Connector For Inputs and Outputs >> Without Navigation (EX and SC Models)
April 5, 2026: LEMON Manuals is launched! Read the announcement.

Without Navigation (EX and SC Models)

Fig 1: Identifying Audio Unit Connectors A, B, C, D & E
G00487460Courtesy of AMERICAN HONDA MOTOR CO., INC.

AUDIO UNIT CONNECTOR A (20P) 

Fig 2: Identifying Audio Unit Connector A (20P)
G00487462Courtesy of AMERICAN HONDA MOTOR CO., INC.
AUDIO UNIT CONNECTOR A (20P) TABLE

Cavity Wire Color Terminal Name Connect to
A1 YEL/GRN SWD+B Stereo amplifier, AM/FM antenna*2
A2 YEL/RED ACC No. 8 (7.5 A) fuse in the under-dash fuse/relay box
A3 GRN/RED REMOTE Audio remote switch
A5 BLU RR SP+ Stereo amplifier
A6 RED RL SP+ Stereo amplifier
A7 YEL FR SP+ Stereo amplifier
A8 WHT FL SP+ Stereo amplifier
A9 RED/BLK ILLUMI+ No. 2 (15 A) fuse in the under-hood fuse/relay box
A10 WHT/RED +B No. 9 (10 A) fuse in the under-hood fuse/relay box
A11 LT GRN/BLK*1 SH GND Shield for terminals No. 5, No. 6, No. 7, No. 8, No. 15, No. 16, No. 17, and No. 18
A14 BRN REMOTE GND Audio remote switch ground
A15 BLK RR SP- Stereo amplifier
A16 GRN RL SP- Stereo amplifier
A17 BRN FR SP- Stereo amplifier
A18 ORN FL SP- Stereo amplifier
A19 RED ILLUMI CONTROL Dash lights brightness controller (in the gauge control module)
A20 BLK MAIN GND Body ground to G503
*1: The shielded wires have a heat-shrunk tube insulating the outside of the wire. The color of the insulating tube, typically black or dark gray, may not match the color of the wire listed on the schematic.
*2: Without XM

AUDIO UNIT CONNECTOR B (8P) 

Fig 3: Identifying Audio Unit Connector B (8P)
G00487464Courtesy of AMERICAN HONDA MOTOR CO., INC.
AUDIO UNIT CONNECTOR B (8P) TABLE

Cavity Wire Color Terminal Name Connect to
B4 RED/BLU SUBW+ Stereo amplifier
B7 PNK/BLK* SH GND Shield for terminals No. 4 and No. 8
B8 RED/WHT SUBW- Stereo amplifier
*: The shielded wires have a heat-shrunk tube insulating the outside of the wire. The color of the insulating tube, typically black or dark gray, may not match the color of the wire listed on the schematic.

AUDIO UNIT CONNECTOR C (6P) 

Fig 4: Identifying Audio Unit Connector C (6P)
G00487465Courtesy of AMERICAN HONDA MOTOR CO., INC.
AUDIO UNIT CONNECTOR C (6P) TABLE

Cavity Wire Color Terminal Name Connect to
C1 YEL AUX DET Auxiliary jack assembly
C2 BLU AUX GND Auxiliary jack assembly
C3 BRN R ch Auxiliary jack assembly
C4 GRN S GND Auxiliary jack assembly
C5 WHT L ch Auxiliary jack assembly
C6 LT GRN/RED* SH GND Shield for terminals No. 1, No. 3, No. 13, No. 14 and No. 15
*: The shielded wires have a heat-shrunk tube insulating the outside of the wire. The color of the insulating tube, typically black or dark gray, may not match the color of the wire listedon the schematic.

AUDIO UNIT CONNECTOR D (14P) 

Fig 5: Identifying Audio Unit Connector D (14P)
G00487466Courtesy of AMERICAN HONDA MOTOR CO., INC.
AUDIO UNIT CONNECTOR D (14P) TABLE

Cavity Wire Color Terminal Name Connect to
D2 ORN SYS ACC XM receiver
D3 BRN* GA-NET BUS SH Shield for terminals No. 9 and No. 10
D4 GRY* AUDIO SH Shield for terminals No. 5, No. 13 and No. 14
D5 WHT AUDIO R+ XM receiver
D6 RED AUDIO L+ XM receiver
D9 BLU GA-NET BUS+ XM receiver
D10 PNK GA-NET BUS- XM receiver
D13 BLU AUDIO R- XM receiver
D14 GRN AUDIO L- XM receiver
*: The shielded wires have a heat-shrunk tube insulating the outside of the wire. The color of the insulating tube, typically black or dark gray, may not match the color of the wire listed on the schematic.

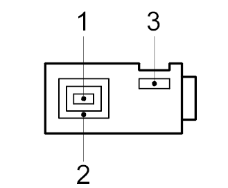
AUDIO UNIT CONNECTOR E (3P) 

Fig 6: Identifying Audio Unit Connector E (14P)
G00487467Courtesy of AMERICAN HONDA MOTOR CO., INC.
AUDIO UNIT CONNECTOR E (3P) TABLE

Cavity Wire Terminal Name Connect to
E1 - RF IN AM/FM antenna
E2 - RF SH Shielded for terminal No. 1
E3 - ANT+B AM/FM antenna