LEMON Manuals: Even more car manuals for everyone: 1960-2025
Home >> Honda >> 2011 >> Fit Base, Standard >> Repair and Diagnosis >> External Pages >> Different car >> Section 2 (Audio System) >> Audio Unit Removal/Installation
April 5, 2026: LEMON Manuals is launched! Read the announcement.

Audio Unit Removal/Installation

WARNING: This page is about a different car, the 2013 Honda Fit and 2012 Honda Fit. However, it is still accessible from the selected car via links, so may be relevant.

SRS components are located in this area. Review the SRS component location COMPONENT LOCATION INDEX , and the precautions and procedures PRECAUTIONS AND PROCEDURES in the SRS section before doing repairs or service.

NOTE:
  • Put on gloves to protect your hands.
  • Take care not to scratch the dashboard and related parts.
  • Lay a workshop towel under the parts when working on them to protect the face panel from scratches or other damage.
  • Do not work in a dusty or dirty place.
  • Discharge static electricity from your body before and during the work.
  • Do not touch the circuit board(s) with your bare hands.
  • Do not work with dirty hands.
  • Be careful not to fold the flat plate cable.
  • Eject the all the discs before removing the audio unit to prevent damaging the audio disc player's load mechanism.
  • If you are replacing the audio unit, write down the audio presets (if possible), and enter them into the new audio unit.
  1. Make sure you have the 4-digit anti-theft code for the audio system.
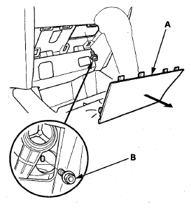
  2. Remove the center lower cover (A) DASHBOARD VENT REMOVAL/INSTALLATION
  3. Move the recirculation control lever to FRESH to help access the mounting bolt (B), then remove it.
    Fig 1: Removing Center Lower Cover
    G08083131Courtesy of AMERICAN HONDA MOTOR CO., INC.
  4. Open the dashboard upper tray lid. Insert a flat-tip screwdriver in the groove (A), then pull the screwdriver shaft up slightly.
    Fig 2: Inserting Flat-Tip Screwdriver In Groove
    G08083132Courtesy of AMERICAN HONDA MOTOR CO., INC.
  5. Pull the center panel (A) out and disconnect the connectors, then remove the center panel.
    NOTE: When you disconnect audio unit connector A (24P), while pushing the tab (B), pull the lever (C) up and disconnect the connector.
    Fig 3: Pulling Center Panel Out
    G08083133Courtesy of AMERICAN HONDA MOTOR CO., INC.
  6. With USB adapter unit: Remove the USB adapter unit (see USB ADAPTER UNIT REPLACEMENT  ).
  7. Remove the mounting screws and bolts from the audio unit (A), then remove the bracket (B).
    Fig 4: Audio Unit, Bracket, Mounting Screws And Bolts With Torque Specifications
    G08083134Courtesy of AMERICAN HONDA MOTOR CO., INC.
  8. Remove the screws and the audio unit (A) from the center panel (B).
    Fig 5: Identifying Audio Unit And Center Panel With Screws
    G08083135Courtesy of AMERICAN HONDA MOTOR CO., INC.
  9. Install the audio unit in the reverse order of removal, and note these items:
    • Make sure all connectors are secure.
    • Enter the anti-theft codes for the audio system.
    • Set the clock.