LEMON Manuals: Even more car manuals for everyone: 1960-2025
Home >> Honda >> 2011 >> Fit Base, Standard >> Repair and Diagnosis >> External Pages >> Different car >> Section 2 (Audio System) >> Auxiliary Jack Assembly Replacement >> With navigation
April 5, 2026: LEMON Manuals is launched! Read the announcement.

With navigation

WARNING: This page is about a different car, the 2013 Honda Fit and 2012 Honda Fit. However, it is still accessible from the selected car via links, so may be relevant.
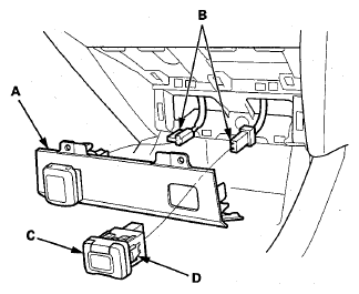
  1. Remove the center lower trim (A) DASHBOARD CENTER LOWER TRIM REMOVAL/INSTALLATION
    Fig 1: Identifying Center Lower Trim, Connectors And Auxiliary Jack
    G08083137Courtesy of AMERICAN HONDA MOTOR CO., INC.
  2. Disconnect the connectors (B)from the auxiliary jack (C) and the accessory socket.
  3. Push out the auxiliary jack (C) from the center lower trim, while pressing lock tabs (D).
  4. Install the auxiliary jack in the reverse order of removal.