LEMON Manuals: Even more car manuals for everyone: 1960-2025
Home >> Honda >> 2011 >> Fit L4-1.5L >> Repair and Diagnosis >> Powertrain Management >> Computers and Control Systems >> Information Bus >> Description and Operation >> Multiplex Integrated Control System Description
April 5, 2026: LEMON Manuals is launched! Read the announcement.

Multiplex Integrated Control System Description




Multiplex Integrated Control System Description

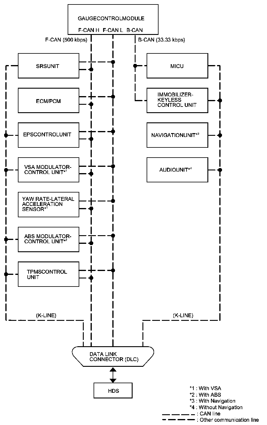
Body Controller Area Network (B-CAN) and Fast Controller Area Network (F-CAN)

The body controller area network (B-CAN) and the fast controller area network (F-CAN) share information between multiple electronic control units (ECUs). B-CAN communication moves at a slower speed (33.33 kbps) for convenience related items and for other functions. F-CAN information moves at a faster speed (500 kbps) for "real time" functions such as fuel and emissions data. To allow both systems to share information, the gauge control module translates information from B-CAN to F-CAN and from F-CAN to B-CAN.






Gateway Function

The gauge control module acts as a gateway to allow both systems to share information. The gauge control module translates information from B-CAN to F-CAN and from F-CAN to B-CAN.






Network "Loss of Communication" Error Checking Function

The ECUs on the CAN circuit send messages to each other. If there are any malfunctions on the network, the LCD display on the gauge control module can indicate the error messages by entering the gauge control module self-diagnostic function Initial Inspection and Diagnostic Overview.

Self-diagnostic Function

By connecting the HDS to the data link connector (DLC), the HDS can retrieve the diagnostic information from the MICU via a diagnostic line called K-LINE. The K-LINE is a separated from the CAN lines, and is connected to the CAN related ECUs. The MICU is a gateway between the HDS and B-CAN related ECUs, and it sends B-CAN diagnostic information to the HDS. When doing a function test with the HDS, the HDS sends an output signal through the K-LINE to the MICU. The MICU either relays the request to another ECU or commands the function itself.






Wake-up and Sleep Function

The multiplex integrated control system has wake-up and sleep functions to decrease parasitic draw on the battery.

- In the sleep mode, the multiplex integrated control system stops functioning (communication and CPU control) when it is not necessary for the system to operate.
- As soon as any operation is requested (for example, a door is unlocked), the related control units in the sleep mode immediately wake-up and begin to function.
- When the ignition switch is turned to LOCK (0) with all the doors and the tailgate closed, and the driver's door is opened then closed, there is a delay of about 40 seconds before the control unit goes from the wake-up mode to the sleep mode.
- The sleep mode will not function if any door or the tailgate is open or if a key is in the ignition switch.
- The draw is reduced from 200 mA to less than 35 mA when in the sleep mode.

NOTE: Sleep and Wake-Up Mode Test Multiplex Integrated Control System Sleep and Wake-up Mode Test.

Fail-Safe Function

To prevent improper operation, the MICU has a fail-safe function. In the fail-safe mode, the output signal is fixed when any part of the system malfunctions (for example, a faulty control unit or communication line).

Each control unit has a hardware fail-safe function that fixes the output signal when there is a CPU malfunction and a software fail-safe function that ignores the signal from a malfunctioning control unit, which allows the system to operate normally.

Hardware Fail-Safe Control

Fail-safe function

When a CPU problem or an abnormal power supply voltage is detected, the MICU moves to the hardware fail-safe mode, and each system output load is set to the pre-programmed fail-safe value.

Software Fail-Safe Control

When any of the data from the B-CAN circuit cannot be received within a specified time, or an unusual combination of data is recognized, the MICU moves to the software fail-safe mode. The data that cannot be received is forced to a pre-programmed value.

Power Supply Voltage Monitoring Function

The MICU monitors the power supply voltage (back-up voltage). If the voltage goes below 10 V, the MICU will not store DTCs.






Combination Light Switch

The MICU control of the lighting system is based on input from the combination light switch.






Fog Lights

The MICU control of the fog lights is based on input signal from the fog light switch.






Turn Signal/Hazard Warning Lights

The MICU control of the turn signal/hazard warning lights is based on input from the turn signal switch and the hazard warning switch.






Entry Light

The MICU control of the interior lights is based on input signals of each switches and B-CAN.






Cargo Area Light

The MICU control of the cargo area light is based on the tailgate latch switch.






Daytime Running Lights

The MICU control of the headlights as daytime running lights based on input from each switch and B-CAN data.






Windshield Wiper/Washer

The MICU control of the windshield wiper motor and windshield washer motor is based on input signals from each switch and B-CAN signals.






Rear Window Wiper/Washer

The MICU control of the rear window wiper motor and rear window washer motor is based on inputs from each switch.






Windshield/Rear Window Washer

The MICU control of the windshield washer and the rear window washer motor is based on inputs from each switch.






Power Window Timer (Key-Off Operation)

The MICU control of the power window key-off operation is based on inputs from each switch.






Collision Detection Signal (CDS)

The MICU control of the door lock actuators is based on the IG1 and SRS (CDS) inputs.






Power Door Locks

The MICU control of the door lock actuators is based on inputs from each switch.






Keyless Entry System

The MICU control of the door lock actuators is based on inputs of each switch.






Key Interlock (A/T)

The MICU control of the key interlock solenoid is based on inputs from each switch.






Security Alarm System

The MICU control of the exterior lights and the horn is based on inputs of each switch.






Answer Back Response Operation

The MICU control of the lighting system and horn is based on keyless signals sent by B-CAN data.






Auto Door Lock

The MICU control of the door lock actuators is based on inputs from each switch and B-CAN data.






Auto Door Unlocks

The MICU control of the door lock actuators is based on the inputs from each switch.






Keyless Panic Function

The MICU control of the keyless PANIC function is based on Panic signals sent by B-CAN data.






HDS Inputs and Function Tests

Certain inputs happen so quickly that the HDS cannot update fast enough. Hold the switch that is being tested while monitoring the Data List. This should give the HDS time to update the signal on the Data List.

Because the HDS software is updated to support the release for newer vehicles, it is not uncommon to see system function tests that are not supported.

Make sure that the most current software is loaded.

Input





Input





Input





Input





HDS Inputs and Function Tests

Function Test