LEMON Manuals: Even more car manuals for everyone: 1960-2025
Home >> Honda >> 2011 >> Fit L4-1.5L >> Repair and Diagnosis >> Windows and Glass >> Windshield >> Service and Repair
April 5, 2026: LEMON Manuals is launched! Read the announcement.

Windshield: Service and Repair




Windshield Replacement

NOTE:

- Put on gloves to protect your hands.
- Wear eye protection while cutting the glass adhesive with a piano wire.
- Use seat covers to avoid damaging any surface.
- Glass adhesive can be efficiently cut with a commercially available auto glass tool. See the tool manufacturer's instructions for details.

1. Remove these items:

- Cowl cover Service and Repair
- Rearview mirror Rearview Mirror Replacement
- A-pillar trim, both sides

2. Remove the molding (A) from the edge of the windshield (B). If necessary, cut the molding with a utility knife.





3. If you are reinstalling the old windshield, make alignment marks across the glass and body with a grease pencil.

4. Pull down the front portion of the headliner Service and Repair. Take care not to bend the headliner excessively, or you may crease or break it.

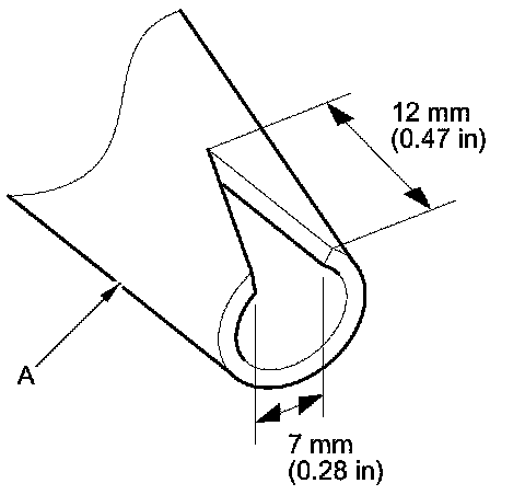
5. Apply protective tape along the edge of the dashboard and body. Make a hole with an awl through the rubber dam and adhesive from inside the vehicle at a corner portion of the windshield. Push a piece of piano wire through the hole, and wrap each end around a piece of wood.

6. With a helper on the outside, pull the piano wire (A) back and forth in a sawing motion. Hold the piano wire as close to the windshield (B) as possible to prevent damage to the body and dashboard.

Carefully cut through the rubber dam and adhesive (C) around the entire windshield.






Cutting positions





7. Carefully remove the windshield.

8. Scrape smooth the old adhesive, using a knife, until there is a thickness of about 2 mm (0.08 in) on the bonding surface around the entire windshield opening flange:

- Do not scrape down to the painted surface of the body; damaged paint will interfere with proper bonding.
- Remove the rubber dams and upper clips from the body.
- Replace the dashboard seal with a new one.

9. Clean the body bonding surface with a shop towel dampened in isopropyl alcohol. After cleaning, keep oil, grease, and water from getting on the clean surface.

10. If you are reinstalling the old windshield, use a putty knife to scrape off all of the old adhesive, the upper clips, and the rubber dams from the windshield. Clean the bonding surfaces on the inside face and the edge of the windshield with isopropyl alcohol. Make sure the bonding surface is kept free of water, oil, and grease.

11. Attach rubber dams A, B, C, and D and the upper clips (E) with adhesive tape to the inside face of the windshield (F) as shown:

- Make sure the rubber dams and upper clips line up with the alignment marks (G).
- Be careful not to touch the windshield where adhesive will be applied.





12. Apply a light coat of glass primer to the windshield edges where you will install the new molding. Use the alignment marks (A) as a guide. After the primer dries, lightly wipe it off with gauze or cheesecloth.






13. Keep water, dust, and abrasive materials away from the primed surfaces. Attach the molding (A) with adhesive tape (B) to the edge of the windshield (C):

- Be sure each corner of the molding lines up with the corners of the windshield.
- Be careful not to touch the windshield where adhesive will be applied.





14. If you are installing a new windshield, set the windshield (A) in the opening, and center it.
Make alignment marks (B) across the windshield and body with a grease pencil at the four points shown. Make sure both upper clips (C) are in the body holes (Suzuki Factory produced models). Make sure both pins (D) from the upper clips (E) contact the edge of the body holes (Sayama Factory produced models). Be careful not to touch the windshield where adhesive will be applied.





15. Remove the windshield.

16. Apply a light coat of glass primer to the windshield (A) along the edge of the molding (B) and the rubber dams (C) as shown, then lightly wipe it off with gauze or cheesecloth:

- Apply glass primer to the bottom (E) of the windshield, using the printed dots (D) on the windshield as a guide.
- Apply glass primer to the molding.
- Do not apply body primer to the windshield, and be careful not to mix up the body and glass primer sponges.
- Never touch the primed surfaces with your hands. If you do, the adhesive may not bond to the windshield properly, causing a leak after the windshield is installed.
- Keep water, dust, and abrasive materials away from the primed surface.





17. Carefully apply a light coat of body primer to any exposed paint or metal on the windshield mounting flange. Let the body primer dry for at least 10 minutes:

- Do not apply body primer to any remaining original adhesive on the flange.
- Be careful not to mix up the body and glass primer sponges.
- Never touch the primed surfaces with your hands.
- Mask off the dashboard before applying the primer.





18. Cut a "V" in the end of the nozzle (A) on the adhesive cartridge as shown.






19. Put the cartridge in a caulking gun, and run a continuous bead of adhesive (A) on the windshield (B) along the edge of the molding (C) and rubber dams (D) as shown. Apply the adhesive within 30 minutes after applying the glass primer. Make a slightly thicker bead at each corner.





20. Use suction cups to hold the windshield over the opening, align it with the alignment marks made in step 3 or step 14, and set it down on the adhesive. Lightly push on the windshield until its edges are fully seated on the adhesive all the way around.

NOTE: Do not open or close any of the doors for about an hour until the adhesive is dry.

21. Remove the excess adhesive with a putty knife or a shop towel dampened with isopropyl alcohol.

22. Wait at least one hour for the adhesive to dry, then spray water over the windshield and check for leaks. Mark leaking areas, and let the windshield dry, then seal with sealant. Let the vehicle stand for at least 4 hours after windshield installation. If the vehicle has to be used within the first 4 hours, it must be driven slowly.

23. Reinstall all remaining removed parts. Install the rearview mirror after the adhesive has dried thoroughly. Advise the customer not to do the following things for 2 to 3 days:

- Slam the doors with all the windows rolled up.
- Twist the body excessively (such as when going in and out of driveways at an angle or driving over rough, uneven roads).