LEMON Manuals: Even more car manuals for everyone: 1960-2025
Home >> Honda >> 2011 >> Insight Base >> Repair and Diagnosis (Single Page) >> Transmission >> Automatic Trans >> Continuously Variable Transmission (CVT) >> System Description >> Electronic Control System >> Start Clutch Pressure Control
April 5, 2026: LEMON Manuals is launched! Read the announcement.

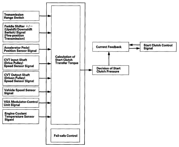
Start Clutch Pressure Control

The hydraulic-controlled start clutch, like a torque converter, controls smooth starting-off and creeping in D, S, L, and R. The PCM inputs signals from the sensor and switches, and actuates the start clutch pressure control valve to regulate the clutch reducing pressure, and the clutch reducing pressure controls the start clutch.

Fig 1: Start Clutch Pressure Control System Diagram
G06430031Courtesy of AMERICAN HONDA MOTOR CO., INC.