LEMON Manuals: Even more car manuals for everyone: 1960-2025
Home >> Honda >> 2011 >> Insight Base >> Repair and Diagnosis >> Accessories & Equipment >> Infotainment >> Navigation System >> Audio-Navigation Unit Removal/Installation
April 5, 2026: LEMON Manuals is launched! Read the announcement.

Audio-Navigation Unit Removal/Installation

SRS components are located in this area. Review the SRS component location (see COMPONENT LOCATION INDEX ), and the precautions and procedures (see PRECAUTIONS AND PROCEDURES ) in the SRS section before doing repairs or service.

NOTE:
  • Put on gloves to protect your hands.
  • Take care not to scratch the dashboard and related parts.
  • Lay a workshop towel under the parts when working on them to protect the face panel from scratches or other damage.
  • Do not work in a dusty or dirty place.
  • Discharge static electricity from your body before and during the work.
  • Do not touch the circuit board(s) with your bare hands.
  • Do not work with dirty hands.
  • Be careful not to fold the flat plate cable.
  • Do not touch the terminal connector of the flat plate cable with your bare hands. (If you have touched it, wipe it off thoroughly.)
  • Before replacing the audio-navigation unit, make sure to remove the customer's navigation DVD, and their audio CD, or PC card. Remanufactured audio-navigation units do not come with a navigation DVD. Re-install the customer's navigation DVD, audio CD, and audio PC card into the new remanufactured unit. If the navigation display won't open, manually remove the navigation DVD, audio CD, and PC card (see SYSTEM ALWAYS COMES UP IN THE IN-LINE DIAGNOSTIC MODE (FACTORY DIAG MODE)  ).
  • If you are replacing the audio-navigation unit, write down the audio presets (if possible), then enter them into the new audio-navigation unit.
  • If after replacing the audio-navigation unit, the vehicle starts up in the inline diag screen (see SYSTEM ALWAYS COMES UP IN THE IN-LINE DIAGNOSTIC MODE (FACTORY DIAG MODE)  ).
  1. Make sure you have the 4-digit anti-theft code for the navigation system.
  2. Eject all the discs from the original audio-navigation unit (see SYSTEM ALWAYS COMES UP IN THE IN-LINE DIAGNOSTIC MODE (FACTORY DIAG MODE)  ). To avoid scratching or damaging the DVD, temporarily place the DVD in jewel case.
  3. Open the center pocket, and remove the center pocket cover (A).
    Fig 1: Identifying Center Pocket Cover
    G06432001Courtesy of AMERICAN HONDA MOTOR CO., INC.
  4. Remove the center lower trim (see DRIVER'S DASHBOARD UNDERCOVER REMOVAL/INSTALLATION ).
  5. Remove the bolt (A).
    Fig 2: Center Lower Trim And Bolt With Torque Specifications
    G06432002Courtesy of AMERICAN HONDA MOTOR CO., INC.
  6. Lower the glove box (see GLOVE BOX STRIKER REPLACEMENT ).
  7. Push out the audio-navigation unit (A) from behind the unit, taking care not to damage the connector (B).
    NOTE: Use your hand, do not use tools to push out the audio-navigation unit.
    Fig 3: Pushing Out Audio-Navigation Unit
    G06432003Courtesy of AMERICAN HONDA MOTOR CO., INC.
  8. Lift the panel, taking care not to damage the dashboard. Insert the appropriate tool into the gap between the dashboard and the panel, then release the clips in order from the gap side.
    Fig 4: Identifying Dashboard Clips
    G06432004Courtesy of AMERICAN HONDA MOTOR CO., INC.
  9. Pull out the center panel (A).
    Fig 5: Identifying Center Panel And Connectors
    G06432005Courtesy of AMERICAN HONDA MOTOR CO., INC.
  10. Disconnect the connectors (B), then remove the center panel.
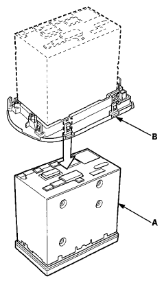
  11. Remove the mounting bolts (C), and screws, from the audio-navigation unit (A), then remove the bracket (B).
    Fig 6: Audio-Navigation Unit, Bracket With Mounting Bolts and Torque Specifications
    G06432006Courtesy of AMERICAN HONDA MOTOR CO., INC.
  12. Remove the audio-navigation unit (A) from the center panel (B).
    Fig 7: Identifying Audio-Navigation Unit From Center Panel
    G06432007Courtesy of AMERICAN HONDA MOTOR CO., INC.
  13. Install the audio-navigation unit in the reverse order of removal, and make sure all connectors are secure.
  14. Turn the ignition switch to ON (II), then reinstall the customer's original DVD, verifying that the DVD is free of scratches or smudges.
  15. Check any official Honda service website for more service information about the navigation system.
    NOTE: Simply transferring the DVD from the original audio-navigation unit to the new audio-navigation unit does not assure the correct software for the vehicle is loaded into the new audio-navigation unit. Doing the DVD transfer without applying software patches may cause the new audio-navigation unit to appear to be malfunctioning.
  16. Enter the new navigation anti-theft code.
  17. Park the vehicle outside, and do the GPS initialization (see SERVICE PRECAUTIONS  ).
  18. Give the new audio-navigation unit anti-theft code to the customer.