LEMON Manuals: Even more car manuals for everyone: 1960-2025
Home >> Honda >> 2011 >> Insight Base >> Repair and Diagnosis >> Body & Frame >> Windows >> Glass >> Upper Rear Window Replacement
April 5, 2026: LEMON Manuals is launched! Read the announcement.

Upper Rear Window Replacement

Special Tools Required 

KTC Trim Tool Set SOJATP2014*

*Available through the Honda Tool and Equipment Program, 888-424-6857

NOTE:
  • Put on gloves to protect your hands.
  • Wear eye protection when removing the glass with piano wire.
  • Use seat covers to avoid damaging any surfaces.
  • Glass adhesive can be efficiently cut with a commercially available auto glass tool. See the tool manufacturer's instructions for details.
  • Do not damage the upper rear window defogger grid lines and terminals.
  • Use glass adhesive set P/N 08C73-X0230N
  • Use the appropriate tool from the KTC trim tool set to avoid damage when removing components.
  1. Remove these items:
  2. Remove the upper seal (A) from the edge of the upper rear window. If necessary, cut the upper seal with a utility knife.
    Fig 1: Removing Upper Seal From Edge Of Upper Rear Window
    G06430962Courtesy of AMERICAN HONDA MOTOR CO., INC.
  3. Remove the antenna terminal cover (A).
    1. Carefully insert the appropriate trim tool.
    2. Use the trim tool to gently pry the cover up partially to detach the hooks (C, D), then rotate the cover, and detach the hook (E).
    NOTE: Do not pry the glass surface with any tools.
    Fig 2: Removing Antenna Terminal Cover
    G06430963Courtesy of AMERICAN HONDA MOTOR CO., INC.
  4. Disconnect the hatch ground connector (A) and the upper rear window defogger connectors (B).
    Fig 3: Identifying Hatch Ground Connector And Upper Rear Window Defogger Connectors
    G06430964Courtesy of AMERICAN HONDA MOTOR CO., INC.
  5. Pull the upper rear window molding (A), then remove it.
    Fig 4: Pulling Upper Rear Window Molding
    G06430965Courtesy of AMERICAN HONDA MOTOR CO., INC.
  6. If you are reinstalling the old window, make alignment marks across the glass and the body with a grease pencil.
  7. Apply protective tape along the inside and the outside edges of the hatch. Make a hole with an awl through the adhesive from inside the vehicle at a corner portion of the window. Push the piano wire through the hole, and wrap each end around a piece of wood.
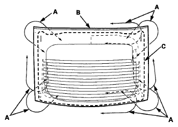
  8. With a helper on the outside, pull the piano wire (A) back and forth in a sawing motion. Hold the piano wire as close to the window (B) as possible to prevent damage to the hatch, and carefully cut through the adhesive (C) around the entire window.
    Fig 5: Pulling Piano Wire Back And Forth In Sawing Motion
    G06430966Courtesy of AMERICAN HONDA MOTOR CO., INC.

    Cutting positions 

    Fig 6: Identifying Upper Rear Window Cutting Positions
    G06430967Courtesy of AMERICAN HONDA MOTOR CO., INC.
  9. Carefully remove the window.
  10. With a putty knife, scrape the old adhesive smooth to a thickness of about 2 mm (0.08 in) on the bonding surface around the entire window opening flange:
    • Do not scrape down to the painted surface of the body; damaged paint will interfere with proper bonding.
    • Remove the fasteners from the hatch.
  11. Clean the hatch bonding surface with a sponge dampened in isopropyl alcohol. After cleaning, keep oil, grease and water from getting on the surface.
  12. If the old window is to be reinstalled, use a putty knife to scrape off all of the old adhesive, the fasteners, and the rubber dams from the window. Clean the inside face and the edge of the window with isopropyl alcohol where new adhesive is to be applied. Make sure the bonding surface is kept free of water, oil, and grease.
  13. Attach the upper seal (A) with adhesive tape along the upper edge of the upper rear window (B):
    • Before installing the upper seal, apply primer to the area where its adhesive tape will be stuck to the inside face of the window.
    • Be sure the upper seal with the alignment marks (C) on the upper edge of the window.
    Fig 7: Attaching Upper Seal With Adhesive Tape
    G06430968Courtesy of AMERICAN HONDA MOTOR CO., INC.
  14. Attach rubber dams A and B and the fasteners (C, D) with adhesive tape to the inside face of the upper rear window (E) as shown.
    • Before installing the rubber dams and fasteners, apply primer to the area where the adhesive tape will be stuck to the inside face of the window.
    • Be sure the rubber dams and the fasteners align with the alignment marks (F).
    • Be careful not to touch the window where adhesive will be applied.
    Fig 8: Attaching Rubber Dams
    G06430969Courtesy of AMERICAN HONDA MOTOR CO., INC.
  15. Attach the fasteners (A) to the hatch as shown.
    Fig 9: Attaching Fasteners To Hatch
    G06430970Courtesy of AMERICAN HONDA MOTOR CO., INC.
  16. Set the upper rear window (A) in the opening, and center it. Make alignment marks (B) across the window and the body with a grease pencil at the four points shown. Be careful no to touch the window where adhesive will be applied.
    Fig 10: Setting Upper Rear Window In Opening
    G06430971Courtesy of AMERICAN HONDA MOTOR CO., INC.
  17. Remove the window.
  18. With a sponge, apply a light coat of glass primer to the upper rear window (A) along the edge of the rubber dams (B) as shown, then lightly wipe it off with gauze or cheesecloth:
    • Using the printed dots (C) on the window as a guide, apply the glass primer to both corner portions of the window.
    • Do not apply body primer to the window, and do not get the body and glass primer sponges mixed up.
    • Never touch the primed surfaces with your hands. If you do, the adhesive may not bond to the window properly, causing a leak after the window is installed.
    • Keep water, dust, and abrasive materials away from the primed surfaces.
    Fig 11: Identifying Upper Rear Window And Rubber Dams
    G06430972Courtesy of AMERICAN HONDA MOTOR CO., INC.
  19. With a sponge, carefully apply a light coat of body primer to any exposed paint or metal around the flange where new adhesive will be applied. Let the primer dry for at least 10 minutes:
    • Do not apply body primer to any remaining original adhesive on the flange.
    • Be careful not to mix up the body and glass primer sponges.
    • Never touch the primed surfaces with your hands.
    Fig 12: Identifying Upper Rear Window Primer Area
    G06430973Courtesy of AMERICAN HONDA MOTOR CO., INC.
  20. Before filling a cartridge, cut a "V" in the end of the nozzle (A) as shown.
    Fig 13: Identifying "V" In End Of Nozzle
    G06430974Courtesy of AMERICAN HONDA MOTOR CO., INC.
  21. Pack adhesive into the cartridge without air pockets to ensure continuous delivery. Put the cartridge in a caulking gun, and run a bead of adhesive (A) to the upper rear window (B) along the edge of the rubber dams (C) as shown:
    • Using the printed dots (D) on the window as a guide, apply the adhesive to both side portions of the window.
    • Apply the adhesive within 30 minutes after applying the glass primer. Make a slightly thicker bead at each corner.
    Fig 14: Identifying Upper Rear Window And Rubber Dams
    G06430975Courtesy of AMERICAN HONDA MOTOR CO., INC.
  22. Use suction cups to hold the window over the opening, align it with the alignment marks you made in step 16, and set it down on the adhesive. Lightly push on the window until its edges are fully seated on the adhesive all the way around.
    NOTE: Do not open or close the doors until the adhesive is dry.
  23. Scrape or wipe the excess adhesive off with a putty knife or towel. To remove adhesive from a painted surface or the window, use a soft shop towel dampened with isopropyl alcohol.
  24. After the adhesive has dried, spray water over the upper rear window and check for leaks. Mark the leaking areas, let the window dry, then seal with sealant. Let the vehicle stand for at least 4 hours after the window installation. If the vehicle has to be used within the first 4 hours, it must be driven slowly.
  25. Reinstall all remaining removed parts.
    NOTE: Advise the customer not to do the following things for 2 to 3 days:
    • Slam the doors with all the windows rolled up.
    • Twist the body excessively (such as when going in and out of driveways at an angle or driving over rough, uneven roads).