LEMON Manuals: Even more car manuals for everyone: 1960-2025
Home >> Honda >> 2011 >> Insight Base >> Repair and Diagnosis >> Engine Mechanical >> Mechanical >> Engine Block >> Oil Pan Installation
April 5, 2026: LEMON Manuals is launched! Read the announcement.

Oil Pan Installation

  1. Remove all of the old liquid gasket from the oil pan mating surfaces, the bolts, and the bolt holes.
  2. Clean and dry the oil pan mating surfaces and the O-ring groove.
  3. Install the new oil pan gasket (A), the new O-ring (B), and the dowel pins (C) on the oil pan.
    Fig 1: Identifying Oil Pan Gasket, O-Ring And Dowel Pins
    G06429026Courtesy of AMERICAN HONDA MOTOR CO., INC.
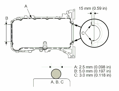
  4. Apply liquid gasket (P/N 08717-0004,08718-0003, or 08718-0009) to the engine block mating surface of the oil pan and to the inside edge of the bolt holes. Install the component within 5 minutes of applying the liquid gasket.
    NOTE:
    • Apply a 2.5 mm (0.098 in) diameter bead of liquid gasket along the broken line (A).
    • Apply a 5.0 mm (0.20 in) diameter bead of liquid gasket to the shaded area (B).
    • Apply a 3.0 mm (0.118 in) diameter bead of liquid gasket along the broken line (C).
    • If you apply liquid gasket P/N 08718-0012, the component must be installed within 4 minutes.
    • If too much time has passed after applying the liquid gasket, remove the old liquid gasket and residue, then reapply new liquid gasket.
    Fig 2: Identifying Liquid Gasket Applying Area
    G00496874Courtesy of AMERICAN HONDA MOTOR CO., INC.
  5. Install the oil pan.
    NOTE:
    • Raise the oil pan carefully not to damage IMA motor rotor position sensor.
    • Wait at least 30 minutes before filling the engine with oil.
    • Do not run the engine for at least 3 hours after installing the oil pan.
    • Make sure to install the bolts in the correct locations according to size.
    Fig 3: Identifying Oil Pan With Bolts
    G06429028Courtesy of AMERICAN HONDA MOTOR CO., INC.
  6. Tighten the bolts in three steps. Wipe off the excess liquid gasket on the each side of crankshaft pulley and the drive plate.

    Specified torque 

    (1): 24 N.m (2.4 kgf.m, 17 lbf.ft) 

    (2)-(13): 12 N.m (1.2 kgf.m, 8.8 lbf.ft) 

    Fig 4: Identifying Oil Pan Bolts Tightening Sequence
    G06429029Courtesy of AMERICAN HONDA MOTOR CO., INC.
  7. Install the transmission mounting bolts.
    Fig 5: Transmission Mounting Bolts With Torque Specifications
    G06429030Courtesy of AMERICAN HONDA MOTOR CO., INC.
  8. Connect the CKP sensor connector (A), then install the CKP sensor cover (B).
    Fig 6: CKP Sensor Connector And CKP Sensor Cover With Torque Specifications
    G06429031Courtesy of AMERICAN HONDA MOTOR CO., INC.
  9. Install the dipstick tube (A) with new O-ring (B), then install the dipstick.
    Fig 7: Dipstick Tube With O-Ring And Bolt With Torque Specifications
    G06429032Courtesy of AMERICAN HONDA MOTOR CO., INC.
  10. If the engine is still in the vehicle, do steps 11 through 15.
  11. Install the A/C compressor (see step 27 underENGINE INSTALLATION ).
  12. Install the driveshaft heat shield (see step 22 underENGINE INSTALLATION ).
  13. Install the drive belt (see DRIVE BELT INSPECTION ).
  14. Install the splash shields (see step 29 underENGINE INSTALLATION ).
  15. Refill the engine with engine oil (see step 6 underENGINE OIL REPLACEMENT ).