LEMON Manuals: Even more car manuals for everyone: 1960-2025
Home >> Honda >> 2011 >> Insight EX >> Repair and Diagnosis >> Body & Frame >> Windows >> Glass >> Windshield Replacement
April 5, 2026: LEMON Manuals is launched! Read the announcement.

Windshield Replacement

NOTE:
  • Put on gloves to protect your hands.
  • Wear eye protection while cutting the glass adhesive with a piano wire.
  • Use seat covers to avoid damaging any surface.
  • Glass adhesive can be efficiently cut with a commercially available auto glass tool. See the tool manufacturer's instructions for details.
  1. Remove these items:
  2. Remove the molding (A) from the edge of the windshield (B). If necessary, cut the molding with a utility knife.
    Fig 1: Identifying Molding And Windshield
    G06430952Courtesy of AMERICAN HONDA MOTOR CO., INC.
  3. If you are reinstalling the old windshield, make alignment marks across the glass and body with a grease pencil.
  4. Pull down the front portion of the headliner (see HEADLINER REMOVAL/INSTALLATION ). Take care not to bend the headliner excessively, or you may crease or break it.
  5. Apply protective tape along the edge of the dashboard and body. Make a hole with an awl through the rubber dam and adhesive from inside the vehicle at a corner of the windshield. Push a piece of piano wire through the hole, and wrap each end around a piece of wood.
  6. With a helper on the outside, pull the piano wire (A) back and forth in a sawing motion. Hold the piano wire as close to the windshield (B) as possible to prevent damage to the body and dashboard. Carefully cut through the rubber dam and adhesive (C) around the entire windshield.
    Fig 2: Pulling Piano Wire Back And Forth In Sawing Motion
    G06430953Courtesy of AMERICAN HONDA MOTOR CO., INC.

    Cutting positions 

    Fig 3: Identifying Glass Cutting Positions
    G06430954Courtesy of AMERICAN HONDA MOTOR CO., INC.
  7. Carefully remove the windshield.
  8. With a utility knife, scrape the old adhesive smooth to a thickness of about 2 mm (0.08 in) on the bonding surface around the entire windshield opening flange:
    • Do not scrape down to the painted surface of the body; damaged paint will interfere with proper bonding.
    • Remove the rubber dams and upper clips from the body.
  9. Clean the body bonding surface with a sponge dampened in isopropyl alcohol. After cleaning, keep oil, grease, and water from getting on the clean surface.
  10. If the old windshield is to be reinstalled, use a putty knife to scrape off all of the old adhesive, the upper clips and the rubber dams from the windshield. Clean the inside face and the edge of the windshield with isopropyl alcohol where new adhesive is to be applied. Make sure the bonding surface is kept free of water, oil, and grease.
  11. Attach rubber dam A, rubber dam B, rubber dam C, rubber dam D, and the upper clips (E) with adhesive tape to the inside face of the windshield (F) as shown:
    • Be sure the rubber dams and the upper clips line up with the alignment marks (G).
    • Be careful not to touch the windshield where adhesive will be applied.
    Fig 4: Identifying Rubber Dams And Upper Clips
    G06430955Courtesy of AMERICAN HONDA MOTOR CO., INC.
  12. Attach the molding (A) with adhesive tape (B) to the edge of the windshield (C):
    • Be sure each corner of the molding lines up with the ones of the windshield.
    • Be careful not to touch the windshield where adhesive will be applied.
    Fig 5: Attaching Molding With Adhesive Tape To Edge Of Windshield
    G06430956Courtesy of AMERICAN HONDA MOTOR CO., INC.
  13. Set the windshield (A) in the opening, and center it. Make alignment marks (B) across the windshield and the body with a grease pencil at the four points shown. Make sure the upper clips (C) contact with the edge of the body holes. Be careful not to touch the windshield where adhesive will be applied.
    Fig 6: Identifying Alignment Marks On Windshield And Body
    G06430957Courtesy of AMERICAN HONDA MOTOR CO., INC.
  14. Remove the windshield.
  15. With a sponge, apply a light coat of glass primer to the windshield (A) along the edge of the molding (B) and the rubber dams (C) as shown, then lightly wipe it off with gauze or cheesecloth:
    • With the printed dots (D) on the windshield as a guide, apply glass primer to the bottom (E) of the windshield.
    • Apply glass primer to the molding.
    • Do not apply body primer to the windshield, and do not get the body and glass primer sponges mixed up.
    • Never touch the primed surfaces with your hands. If you do, the adhesive may not bond to the windshield properly, causing a leak after the windshield is installed.
    • Keep water, dust, and abrasive materials away from the primed surface.
    Fig 7: Applying Glass Primer To Windshield
    G06430958Courtesy of AMERICAN HONDA MOTOR CO., INC.
  16. With a sponge, carefully apply a light coat of body primer to any exposed paint or metal around the flange where new adhesive will be applied. Let the body primer dry for at least 10 minutes:
    • Do not apply body primer to any remaining original adhesive on the flange.
    • Be careful not to mix up the body and glass primer sponges.
    • Never touch the primed surfaces with your hands.
    • Mask off the dashboard before painting the flange.
    Fig 8: Identifying Windshield Body Primer Area
    G06430959Courtesy of AMERICAN HONDA MOTOR CO., INC.
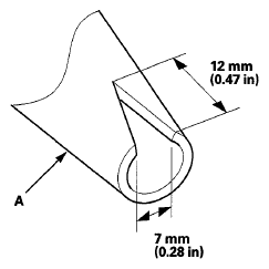
  17. Cut a "V" in the end of the nozzle (A) on the adhesive cartridge as shown.
    Fig 9: Identifying "V" In End Of Nozzle On Adhesive Cartridge
    G06430960Courtesy of AMERICAN HONDA MOTOR CO., INC.
  18. Pack adhesive into the cartridge without air pockets to ensure continuous delivery. Put the cartridge in a caulking gun, and run a bead of adhesive (A) to the windshield (B) along the edge of the molding (C) and rubber dams (D) as shown. Apply the adhesive within 30 minutes after applying the glass primer. Make a slightly thicker bead at each corner.
    • Apply glass primer to the bottom (E) of the windshield.
    • Apply glass primer to the molding.
    Fig 10: Identifying Windshield, Molding And Rubber Dams
    G06430961Courtesy of AMERICAN HONDA MOTOR CO., INC.
  19. Use suction cups to hold the windshield over the opening, align it with the alignment marks made in step 13, and set it down on the adhesive. Lightly push on the windshield until its edges are fully seated on the adhesive all the way around.
    NOTE: Do not open or close any of the doors for about an hour until the adhesive is dry.
  20. Scrape or wipe the excess adhesive off with a putty knife or towel. To remove adhesive from a painted surface or the windshield, wipe with a soft shop towel dampened with isopropyl alcohol.
  21. After the adhesive has dried, spray water over the windshield and check for leaks. Mark leaking areas, and let the windshield dry, then seal with sealant:
    • Let the vehicle stand for at least 4 hours after windshield installation. If the vehicle has to be used within the first 4 hours, it must be driven slowly.
    • Keep the windshield dry for the first hour after installation.
  22. Reinstall all remaining removed parts. Install the rearview mirror after the adhesive has dried thoroughly. Advise the customer not to do the following things for 2 to 3 days:
    • Slam the doors with all the windows rolled up.
    • Twist the body excessively (such as when going in and out of driveways at an angle or driving over rough, uneven roads).