LEMON Manuals: Even more car manuals for everyone: 1960-2025
Home >> Honda >> 2011 >> Odyssey EX-L >> Repair and Diagnosis (Single Page) >> Body & Frame >> Seats >> Driver Position Memory System (DPMS) >> Power Seat Adjustment Switch Test/Replacement
April 5, 2026: LEMON Manuals is launched! Read the announcement.

Power Seat Adjustment Switch Test/Replacement

NOTE: SRS Components are located in this area. Review the SRS component locations (see COMPONENT LOCATION INDEX ), and precautions and procedures (see PRECAUTIONS AND PROCEDURES ) before doing repairs or servicing.
  1. Remove the driver's seat (see FRONT SEAT REMOVAL/INSTALLATION ).
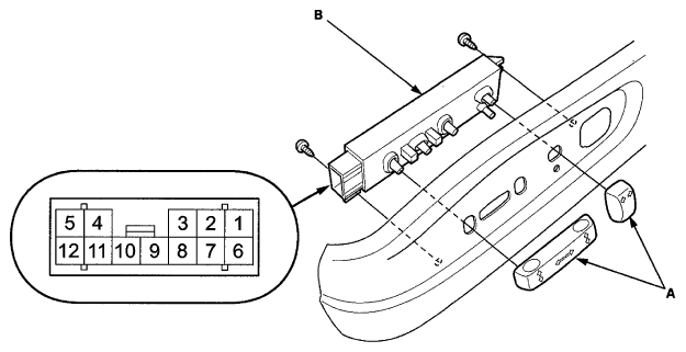
  2. Remove the power seat adjustment switch knobs (A) from the power seat adjustment switch (B).
    Fig 1: Identifying Power Seat Adjustment Switch Knobs And Power Seat Adjustment Switch
    G06970202Courtesy of AMERICAN HONDA MOTOR CO., INC.
  3. Remove the driver's seat front cover (see FRONT SEAT CUSHION COVER REPLACEMENT ) and recline cover (see FRONT SEAT RECLINE COVER REMOVAL/INSTALLATION ).
  4. Disconnect the 12P connector from the switch, then remove the two screws.
  5. Reinstall the adjustment switch knobs to the switch.
  6. Check for continuity between the terminals in each position according to the table.
    Fig 2: Power Seat Adjustment Switch Continuity Chart
    G06970203Courtesy of AMERICAN HONDA MOTOR CO., INC.
  7. If the continuity is not as specified, replace the switch.
  8. Install the part in the reverse order or removal.