LEMON Manuals: Even more car manuals for everyone: 1960-2025
Home >> Honda >> 2011 >> Odyssey EX >> Repair and Diagnosis (Single Page) >> Electrical >> Body Electrical >> OEM-Fuse/Relay Boxes >> Fuse/Relay Boxes >> Passenger's Under-dash Fuse/Relay Box >> Connector-to-Fuse/Relay Box Index
April 5, 2026: LEMON Manuals is launched! Read the announcement.

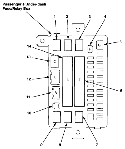
Connector-to-Fuse/Relay Box Index

Ref Socket Cavities Connects to Notes
1 Seat Heater Relay 4   *1
2 Right Rear Power Window Relay 4    
3 ACM Control Relay 4    
4 F 4 Dashboard Wire Harness (View of Middle to Passenger's Side) (see DASHBOARD WIRE HARNESS (VIEW OF MIDDLE TO PASSENGER'S SIDE) )  
5 G 2 Audio Wire Harness (Navigation) (see AUDIO WIRE HARNESS (NAVIGATION) ) *3
6 E 42 Dashboard Wire Harness (View of Middle to Passenger's Side) (see DASHBOARD WIRE HARNESS (VIEW OF MIDDLE TO PASSENGER'S SIDE) )  
7 Front Upper Accessory Power Socket Relay 4   *4
8 Front Lower Accessory Power Socket Relay 4   *2
8 Cigarette Lighter Relay 4   *5
9 Cargo Area Accessory Power Socket Relay 4    
10 H 2 Not Used  
11 A 13 Right Engine Compartment Wire Harness (Dashboard Branch) (see RIGHT ENGINE COMPARTMENT WIRE HARNESS (DASHBOARD BRANCH) )  
12 B 8 Not Used  
13 C 2 Right Engine Compartment Wire Harness (Dashboard Branch) (see RIGHT ENGINE COMPARTMENT WIRE HARNESS (DASHBOARD BRANCH) )  
14 D 42 Right Side Wire Harness (Right Front Branch) (see RIGHT SIDE WIRE HARNESS (RIGHT FRONT BRANCH) )  

*1 = Seat Heaters

*2 = Front Lower Accessory Power Socket

*3 = Navigation

*4 = USA, Canada

*5 = Mexico, Latin America

Fig 1: Passenger's Under-dash Fuse/Relay Box (6-23)
G07761387