LEMON Manuals: Even more car manuals for everyone: 1960-2025
Home >> Honda >> 2011 >> Pilot 4WD V6-3.5L >> Repair and Diagnosis >> Maintenance >> Fluids >> Specifications >> Fluid Type Specifications
April 5, 2026: LEMON Manuals is launched! Read the announcement.

Fluid Type Specifications




Lubricants and Fluids










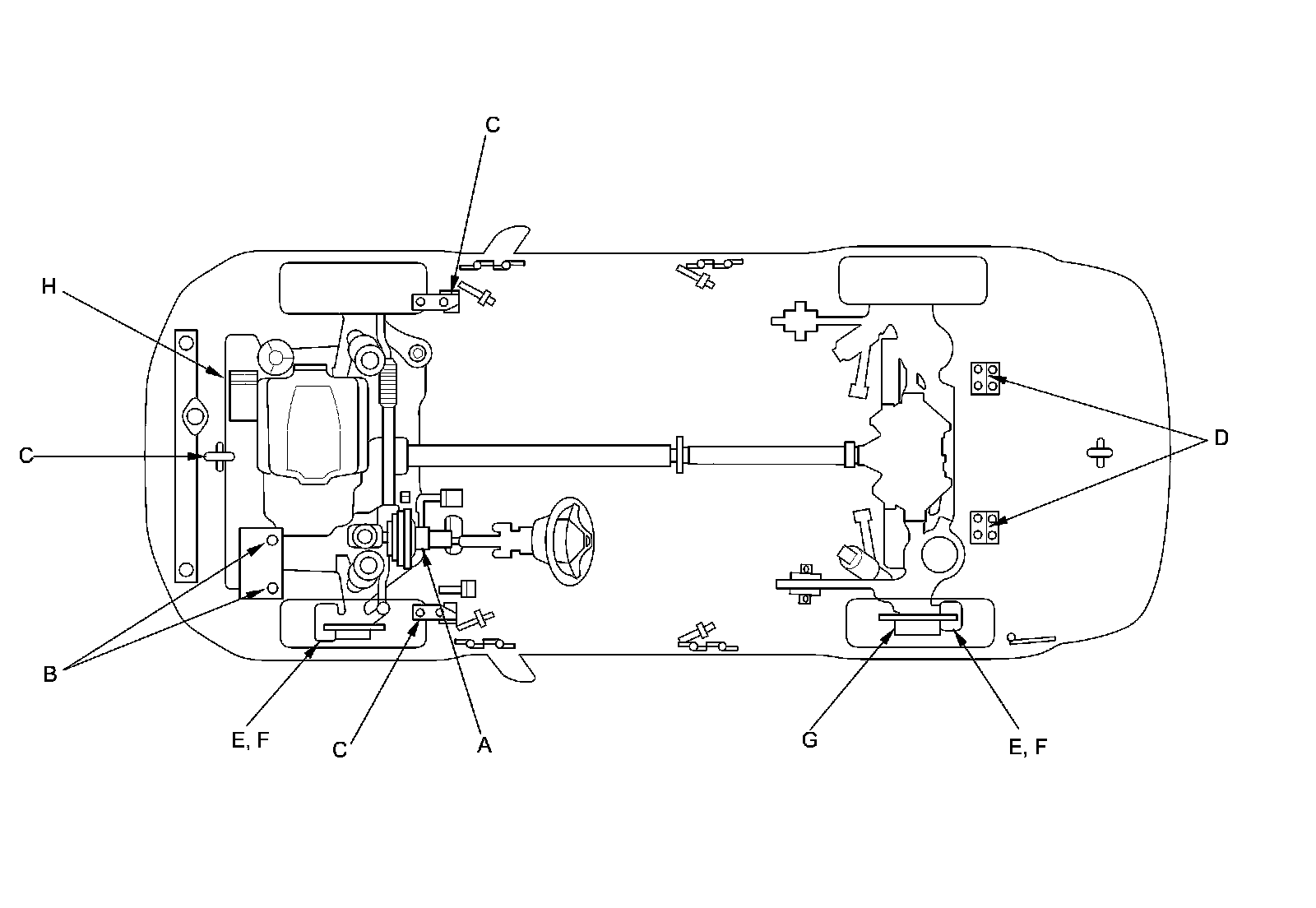
For details of the lubrication points and the type of lubricants to be applied, refer to the illustrated index and the various work procedures (such as Assembly/Reassembly, Replacement, Overhaul, Installation, etc.) contained in each section.

NOTE:

- Lubricate the following areas using the recommended lubricants and fluids.
- In corrosive areas, more frequent lubrication is necessary.