LEMON Manuals: Even more car manuals for everyone: 1960-2025
Home >> Honda >> 2011 >> Pilot EX, 3.5 3 >> Repair and Diagnosis >> Accessories & Equipment >> Seats >> Driver Position Memory System (DPMS) >> Power Seat Adjustment Switch Test/Replacement
April 5, 2026: LEMON Manuals is launched! Read the announcement.

Power Seat Adjustment Switch Test/Replacement

NOTE: SRS components are located in the area. Review the SRS component locations (see COMPONENT LOCATION INDEX ), and precautions and procedures (see PRECAUTIONS AND PROCEDURES before doing repairs or servicing.
  1. Remove the driver's seat (see FRONT SEAT REMOVAL/INSTALLATION ).
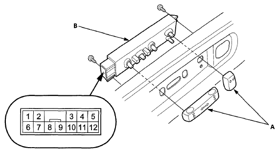
  2. Remove the power seat adjustment switch knobs (A) and the recline cover from the driver's seat (see FRONT SEAT RECLINE COVER REMOVAL/INSTALLATION ), then remove the two screws and the power seat adjustment switch (B).
    Fig 1: Identifying Power Seat Adjustment Switch Knobs & Power Seat Adjustment Switch
    G05966703Courtesy of AMERICAN HONDA MOTOR CO., INC.
  3. Disconnect the 12P connector from the power seat adjustment switch.
  4. Reinstall the adjustment switch knobs to the switch.
  5. Check for continuity between the terminals in each switch position according to the table below.
    Fig 2: Identifying Terminal Position Table
    G05966704Courtesy of AMERICAN HONDA MOTOR CO., INC.
  6. If the continuity is not as specified, replace the switch.