LEMON Manuals: Even more car manuals for everyone: 1960-2025
Home >> Honda >> 2011 >> Pilot EX, 3.5 4 >> Repair and Diagnosis >> Body & Frame >> Windows >> Power Windows >> Rear Power Window Switch Test/Replacement
April 5, 2026: LEMON Manuals is launched! Read the announcement.

Rear Power Window Switch Test/Replacement

  1. Remove the rear door panel (see REAR DOOR PANEL REMOVAL/INSTALLATION .
  2. Remove the screws and disconnect the connector (A) from the rear power window switch (B), them remove the switch assembly from the door panel.
    Fig 1: Identifying Rear Power Window Switch With Connector
    G05966390Courtesy of AMERICAN HONDA MOTOR CO., INC.
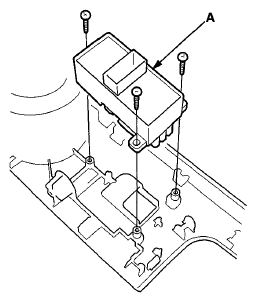
  3. Remove the three screws and the rear power window switch (A).
    Fig 2: Identifying Rear Power Window Switch With Screws
    G05966391Courtesy of AMERICAN HONDA MOTOR CO., INC.
  4. Swap the rear power window switch with an other known-good rear power window switch and test. If the original power window switch is faulty; replace it.
  5. Install the switch in the reverse order of removal.