LEMON Manuals: Even more car manuals for everyone: 1960-2025
Home >> Honda >> 2012 >> Accord L4-2.4L >> Repair and Diagnosis >> Windows and Glass >> Windshield >> Service and Repair
April 5, 2026: LEMON Manuals is launched! Read the announcement.

Windshield: Service and Repair




Windshield Replacement

NOTE:

- Wear eye protection while cutting glass adhesive with a piano wire.
- Put on gloves to protect your hands.
- Use seat covers to avoid damaging any surfaces.
- Glass adhesive can be efficiently cut with a commercially available auto glass tool. See the tool manufacturer's instructions for details.
- 4-door is shown; 2-door is similar.

1. Remove these items:

- Cowl covers Service and Repair
- Rearview mirror:
- Without automatic dimming mirror
- With automatic dimming mirror

- A-pillar trims, both sides Pillar Trim
- Roof moldings, both sides

2. Remove the windshield molding (A) from the upper edge of the windshield (B). If necessary, cut the windshield molding with a utility knife.





3. If the original windshield will be reinstalled, make alignment marks across the windshield and the body with a grease pencil.

4. Pull down the front area of the headliner Service and Repair.

NOTE: Take care not to bend the headliner excessively, or you may crease or break it.

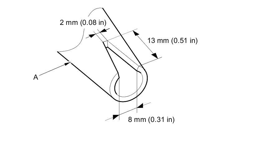
5. Apply the protective tape along the edge of the dashboard and the body. Make a hole with an awl or similar tool through the rubber dam and the adhesive from inside the vehicle at a corner of the windshield. Push a piece of piano wire through the hole, and wrap each end around a piece of wood.

6. With a helper on the outside, pull the piano wire (A) back and forth in a sawing motion. Hold the piano wire as close to the windshield (B) as possible to prevent damage to the body and the dashboard. Carefully cut through the rubber dam and the adhesive (C) around the entire windshield.






Cutting positions





7. Carefully remove the windshield.

8. Scrape the original adhesive smooth to a thickness of about 2 mm (0.08 in) on the bonding surface around the entire windshield opening flange with a putty knife:

- Do not scrape down to the painted surface of the body; damaged paint will interfere with proper bonding.
- Remove the rubber dams from the body.

9. Clean the body bonding surface with a shop towel dampened with isopropyl alcohol. After cleaning, keep oil, grease, and water from getting on the clean surface.

10. If you are reinstalling the original windshield, scrape off all of the original adhesive, the upper clips, and rubber dams from the windshield with a putty knife. Clean the bonding surfaces on the inside face and the edge of the windshield with isopropyl alcohol. Make sure the bonding surface is kept free of water, oil, and grease.

11. With automatic dimming rearview mirror: If the windshield will be replaced with a new one, attach the new rearview mirror harness cover base to the inside face of the windshield Rearview Mirror Harness Cover Base Replacement (4-Door).

12. Apply glass primer to the upper clips mounting area on the windshield (B), and let it dry. Remove the adhesive backing and attach rubber dam A and the upper clips (C) to the inside of the windshield as shown:

- Make sure the rubber dams and the upper clips line up with the alignment marks (D).
- With the printed dots (E) on the windshield as a guide, attach rubber dam A to both bottom corners of the windshield.
- Make sure the index tabs (F) of the upper clips face the right side.
- Be careful not to touch the windshield where the adhesive will be applied.





13. Attach rubber dam B with the adhesive tape to the inside surface of the windshield (A) as shown, using the edge of the black ceramic-coated area (C) as a guide:

- Make sure the rubber dam lines up with the alignment marks (D).
- Be careful not to touch the windshield where the adhesive will be applied.





14. Attach the windshield molding (A) with the adhesive tape (B) to the upper edge of the windshield (C).

NOTE: Be careful not to touch the windshield where the adhesive will be applied.

2-door





4-door





15. Attach the windshield upper seal (A) with the adhesive tape to the inside surface of the windshield molding (B) as shown.






16. Set the windshield (A) in the opening, and center it. Make alignment marks (B) across the windshield and the body with a grease pencil at the four points shown:

- Make sure the pins (C) of both upper clips (D) contact with the edge of the body holes.
- Be careful not to touch the windshield where the adhesive will be applied.





17. Remove the windshield.

18. Apply a light coat of glass primer to the windshield (A) along the edge of the windshield molding (B) and the rubber dams (C) as shown, then lightly wipe it off with gauze or cheesecloth:

- Apply glass primer to the molding.
- Do not apply body primer to the windshield, and do not mix up the body and glass primer applicators.
- Never touch the primed surfaces with your hands. If you do, the adhesive may not bond to the windshield properly, causing a leak after the windshield is installed.
- Keep water, dust, and abrasive materials away from the primed surfaces.





19. Carefully apply a light coat of body primer to any exposed paint or metal around the flange where the new adhesive will be applied. Let the body primer dry for at least 10 minutes:

- Do not apply body primer to any remaining original adhesive on the flange.
- Cover on the dashboard before applying the primer.
- Be careful not to mix up the body and glass primer applicators.
- Never touch the primed surfaces with your hands.





20. Cut a "V" in the end of the nozzle (A) on the adhesive cartridge as shown.






21. Put the cartridge in a caulking gun, and run a continuous bead of the adhesive (A) around the windshield (B) along the edge of the windshield molding (C) and the rubber dams (D) as shown:

- Apply the adhesive within 30 minutes after applying the glass primer.
- Make a slightly thicker bead at each corner.





22. Hold the windshield with suction cups over the opening, align it with the alignment marks you made in step 16, and set it down on the adhesive. Lightly push on the windshield until its edges are fully seated on the adhesive all the way around.

NOTE: Do not open or close any of the doors for about an hour until the adhesive is dry.

23. Remove the excess adhesive with a putty knife or a shop towel dampened with isopropyl alcohol.

24. Wait at least an hour for the adhesive to dry, then spray water over the windshield, and check for leaks. Mark the leaking area, and let the windshield dry, then seal with sealant. Let the vehicle stand for at least 4 hours after windshield installation. If the vehicle has to be used within the first 4 hours, it must be driven slowly.

25. Reinstall all remaining removed parts.

NOTE: Advise the customer not to do the following things for 2 to 3 days:

- Slam the doors with all the windows rolled up.
- Twist the body excessively (such as when going in and out of driveways at an angle or driving over rough, uneven roads).