LEMON Manuals: Even more car manuals for everyone: 1960-2025
Home >> Honda >> 2012 >> CR-V 2WD L4-2.4L >> Repair and Diagnosis >> Powertrain Management >> Computers and Control Systems >> Camshaft Position Sensor >> Service and Repair >> CMP Pulse Plate A Removal And Installation
April 5, 2026: LEMON Manuals is launched! Read the announcement.

CMP Pulse Plate A Removal And Installation






CMP Pulse Plate A Removal and Installation

Removal

1. Ignition Coil Cover





1. Remove the ignition coil cover.

2. Ignition Coil





1. Remove the ignition coils.

3. Cylinder Head Cover





1. Remove the dipstick (A).

2. Disconnect the breather hose (B).

3. Remove the two bolts (C).





4. Remove the cylinder head cover.

4. CMP Pulse Plate A





1. Hold the camshaft with an open-end wrench, then loosen the bolt.





2. Remove CMP pulse plate A.

Installation

1. CMP Pulse Plate A





1. Apply new engine oil to the bolt threads.

2. Install CMP pulse plate A.





3. Hold the camshaft with an open-end wrench, then tighten the bolt.

2. Cylinder Head Cover





1. Check the spark plug seals for damage. If any seals are damaged, replace it.

2. Thoroughly clean the head cover gasket and the groove.

NOTE: Check and, if necessary, replace the head cover gasket.

3. Install the head cover gasket (A) in the groove of the cylinder head cover (B). Make sure the head cover gasket is seated securely.





4. Remove all of the old liquid gasket from the chain case and the No.5 rocker shaft holder.

5. Clean the head cover contacting surfaces with a shop towel.

6. Apply liquid gasket, (P/N 08718-0004 or 08718-0009) on the chain case and the No. 5 rocker shaft holder mating areas (A). Install the component within 5 minutes of applying the liquid gasket.

NOTE: If too much time has passed after applying the liquid gasket, remove the old liquid gasket and residue, then reapply new liquid gasket.





7. Set the spark plug seals (A) on the spark plug tubes. Place the cylinder head cover (B) on the cylinder head, then slide the cover slightly back and forth to seat the head cover gasket.

8. Inspect the spark plug seals for damage.

9. Inspect the cover washers (C). Replace any washer that is damaged or deteriorated.





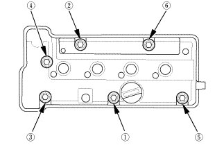
10. Tighten the bolts in two steps. In the final step torque bolts, in sequence, to 12 Nm (1.2 kgm, 9 lbft).

NOTE:
* Wait at least 30 minutes before filling the engine with oil.
* Do not run the engine for at least 3 hours after installing the head cover.





11. Install the two bolts (A).

12. Connect the breather hose (B).

13. Install the dipstick (C).

3. Ignition Coil





1. Install the ignition coils.

4. Ignition Coil Cover





1. Install the ignition coil cover.