LEMON Manuals: Even more car manuals for everyone: 1960-2025
Home >> Honda >> 2012 >> CR-V 2WD L4-2.4L >> Repair and Diagnosis >> Powertrain Management >> Computers and Control Systems >> Transmission Position Sensor/Switch >> Testing and Inspection
April 5, 2026: LEMON Manuals is launched! Read the announcement.

Transmission Position Sensor/Switch: Testing and Inspection






Transmission Range Switch Test

Removal

1. Air Cleaner Assembly





1. Disconnect the MAF sensor/IAT sensor connector (A).

2. Remove the harness clamp (B).

3. Disconnect the intake air duct (C) and the intake air pipe (D).

4. Remove the air cleaner (E).

2. ATF Warmer - Move





1. Remove the bolts (A) securing the ATF warmer (B), and move it out of the way.

NOTE: Be careful not to damage the lines and fin part of the ATF warmer when moving ATF warmer.

Test

1. Transmission Range Switch Subharness - Continuity Test





1. Disconnect the connector (A), then remove the transmission range switch subharness 10P connector (B) from its bracket (C).





2. Check for continuity between terminals at the transmission range switch subharness 10P connector. There should be continuity between the terminals in the table for each shift lever position.

* The transmission range switch test is finished if the test results are OK. Reconnect the connector.
* If there is no continuity between any terminals, go to the next procedure.

Removal

1. Transmission Range Switch Cover





1. Remove the transmission range switch cover (A).

Test

1. Transmission Range Switch - Continuity Test





1. Disconnect the connector (A).





2. Check for continuity between terminals at the transmission range switch 10P connector. There should be continuity between the terminals in the table for each shift lever position.

* If the transmission range switch test is OK, replace the faulty transmission range switch subharness.
* If there is no continuity between any terminals, go to the next step and check the selector control shaft.





3. Remove the transmission range switch (A).





4. Check the end of the selector control shaft (A).








* If the measurement at the end of the selector control shaft end is within the specification, replace the transmission range switch.
* If the measurement is out of the specification, repair the selector control shaft end, and recheck the transmission range switch continuity.

Installation

1. Transmission Range Switch





1. Make sure the selector control shaft is in the N position. If necessary, move the selector control shaft to the N position.

NOTE: Do not use the selector control shaft to adjust the shift position. If the selector control shaft tips are squeezed together it will cause a faulty signal or position due to play between the selector control shaft and switch.





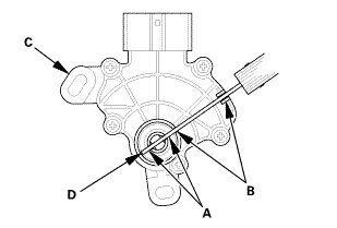
2. Align the cutouts (A) on the rotary-frame with the neutral positioning cutouts (B) on the transmission range switch (C), then put a 2.0 mm (0.079 in) feeler gauge blade (D) in the cutouts to hold the switch in the N position.

NOTE: Be sure to use a 2.0 mm (0.079 in) blade or equivalent to hold the switch in the N position.





3. Install the transmission range switch (A) gently on the selector control shaft (B) while holding it in the N position with the 2.0 mm (0.079 in) blade (C).





4. Tighten the bolts on the transmission range switch (A) while you continue holding the N position.

NOTE: Do not move the transmission range switch when tightening the bolts.

5. Remove the feeler gauge (B).

6. Check the connector (C) for corrosion, dirt, or oil, and clean or repair if necessary, then connect the connector securely.

2. Transmission Range Switch Cover





1. Install the transmission range switch cover (A).

3. ATF Warmer - Move





1. Install the ATF warmer (A).

4. Air Cleaner Assembly





1. Install the air cleaner (A).

2. Connect the intake air pipe (B) and the intake air duct (C).

3. Install the harness clamp (D).

4. Connect the MAF sensor/IAT sensor connector (E).

5. After Installing Transmission Range Switch - Check

1. Turn the ignition switch to ON (II), or press the engine start/stop button to select the ON mode.

2. Move the shift lever through all positions, and check the transmission range switch synchronization with the A/T gear position indicator.

3. Check that the engine will start with the shift lever in P and N, and will not start in any other shift lever position.

4. Check that the back-up lights come on when the shift lever is in R.

5. Raise the vehicle on a lift, and make sure it is securely supported.

6. Start the engine, and check the shift lever operation.