LEMON Manuals: Even more car manuals for everyone: 1960-2025
Home >> Honda >> 2012 >> CR-Z Base, Standard Trans >> Repair and Diagnosis >> Accessories & Equipment >> Entertainment Systems >> Audio System >> Audio Remote Switch Replacement >> Without HandsFreeLink system
April 5, 2026: LEMON Manuals is launched! Read the announcement.

Without HandsFreeLink system

  1. Remove the driver's airbag assembly (see DRIVER'S AIRBAG REPLACEMENT ).
  2. Remove the screws (A) and the lid (B) from the steering wheel (C).
    Fig 1: Identifying Screws, Lid And Steering Wheel
    G06954349Courtesy of AMERICAN HONDA MOTOR CO., INC.
  3. Remove the screws (A) from the steering wheel.
    Fig 2: Identifying Steering Wheel With Screws
    G06954350Courtesy of AMERICAN HONDA MOTOR CO., INC.
  4. Disconnect the connectors (A) (CVT model) and the connector (B), then remove the steering wheel trim (C).
    Fig 3: Removing Steering Wheel Trim
    G06954351Courtesy of AMERICAN HONDA MOTOR CO., INC.
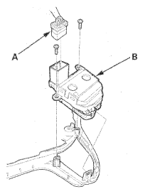
  5. Remove the screws, then disconnect the connector (A) from the audio remote switch (B).
    Fig 4: Identifying Audio Remote Switch And Connector With Screws
    G06954352Courtesy of AMERICAN HONDA MOTOR CO., INC.
  6. Install the audio remote switch in the reverse order of removal.