LEMON Manuals: Even more car manuals for everyone: 1960-2025
Home >> Honda >> 2012 >> CR-Z Base, Standard Trans >> Repair and Diagnosis >> Accessories & Equipment >> Entertainment Systems >> Audio System >> System Description >> System Diagram >> With navigation
April 5, 2026: LEMON Manuals is launched! Read the announcement.

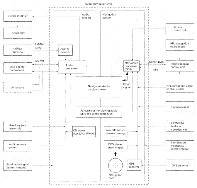
With navigation

Fig 1: Audio System Diagram - With Navigation
G06954194Courtesy of AMERICAN HONDA MOTOR CO., INC.