LEMON Manuals: Even more car manuals for everyone: 1960-2025
Home >> Honda >> 2012 >> CR-Z Base, Standard Trans >> Repair and Diagnosis >> Accessories & Equipment >> Infotainment >> Audio System >> Audio Remote Switch Replacement >> With HandsFreeLink system
April 5, 2026: LEMON Manuals is launched! Read the announcement.

With HandsFreeLink system

  1. Remove the driver's airbag assembly (see DRIVER'S AIRBAG REPLACEMENT ).
  2. Remove the screws (A) and lids (B) from the steering wheel (C).
    Fig 1: Identifying Screws, Lids And Steering Wheel
    G06954344Courtesy of AMERICAN HONDA MOTOR CO., INC.
  3. Remove the screws (A) from the steering wheel.
    Fig 2: Identifying Steering Wheel With Screws
    G06954345Courtesy of AMERICAN HONDA MOTOR CO., INC.
  4. Disconnect the connectors (A) (CVT model) and the connector (B), then remove the steering wheel trim (C).
    Fig 3: Removing Steering Wheel Trim
    G06954346Courtesy of AMERICAN HONDA MOTOR CO., INC.
  5. Remove the screw, then remove the HFL switch or HFL-navigation voice control switch (A).
    Fig 4: Identifying HFL-Navigation Voice Control Switch With Screw
    G06954347Courtesy of AMERICAN HONDA MOTOR CO., INC.
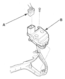
  6. Remove the screws, then disconnect the connector (A) from the audio remote switch (B).
    Fig 5: Identifying Audio Remote Switch With Connector And Screws
    G06954348Courtesy of AMERICAN HONDA MOTOR CO., INC.
  7. Install the audio remote switch in the reverse order of removal.