LEMON Manuals: Even more car manuals for everyone: 1960-2025
Home >> Honda >> 2012 >> CR-Z Base, Standard Trans >> Repair and Diagnosis >> Body & Frame >> Windows >> Glass >> Upper Rear Window Replacement
April 5, 2026: LEMON Manuals is launched! Read the announcement.

Upper Rear Window Replacement

NOTE:
  • Put on gloves to protect your hands.
  • Wear eye protection while cutting the glass adhesive with a piano wire.
  • Use seat covers to avoid damaging any surfaces.
  • Glass adhesive can be efficiently cut with a commercially available auto glass tool. See the tool manufacturer's instructions for details.
  • Do not damage the upper rear window defogger grid lines and terminals.
  1. Remove these items:
  2. Remove the lower seal (A) from the edge of the upper rear window. If necessary, cut the lower seal with a utility knife.
    Fig 1: Identifying Lower Seal
    G06952237Courtesy of AMERICAN HONDA MOTOR CO., INC.
  3. Disconnect the window antenna connector (A), the hatch ground connector (B), and the upper rear window defogger connectors (C).
    Fig 2: Identifying Window Antenna Connector, Hatch Ground Connector And Upper Rear Window Defogger Connectors
    G06952238Courtesy of AMERICAN HONDA MOTOR CO., INC.
  4. If the old upper rear window will be reinstalled, make alignment marks (A) across the glass and the body with a grease pencil.
    Fig 3: Identifying Alignment Marks On Glass And Body
    G06952239Courtesy of AMERICAN HONDA MOTOR CO., INC.
  5. Apply protective tape along the inside and outside edges of the hatch. Make a hole with an awl through the adhesive from inside the vehicle at a corner portion of the upper rear window. Push the piano wire through the hole, and wrap each end around a piece of wood.
  6. With a helper on the outside, pull the piano wire (A) back and forth in a sawing motion. Hold the piano wire as close to the upper rear window (B) as possible to prevent damage to the hatch, and carefully cut through the adhesive (C) around the entire upper rear window.
    Fig 4: Cutting Adhesive Around Upper Rear Window
    G06952240Courtesy of AMERICAN HONDA MOTOR CO., INC.

    Cutting positions 

    Fig 5: Identifying Upper Rear Window Cutting Positions
    G06952241Courtesy of AMERICAN HONDA MOTOR CO., INC.
  7. Carefully remove the upper rear window.
  8. Scrape smooth the old adhesive with a putty knife until there is a thickness of about 2 mm (0.08 in) on the bonding surface around the entire upper rear window opening flange:
    • Do not scrape down to the painted surface of the body; damaged paint will interface with proper bonding.
    • Remove the fasteners and rubber dam from the hatch.
  9. Clean the body bonding surface with a shop towel dampened in isopropyl alcohol. After cleaning, keep oil, grease and water from getting on the surface.
  10. If you are installing the new upper rear window, install the rear wiper seal (A) on the upper rear window with its alignment mark (B) aligned with the mark (C) on the upper rear window.
    Fig 6: Installing Rear Wiper Seal On Upper Rear Window With Alignment Mark
    G06952242Courtesy of AMERICAN HONDA MOTOR CO., INC.
  11. If the old upper rear window will be instated, scrape off all of the old adhesive, the fasteners, and the rubber dams from the upper rear window with a putty knife. Clean the bonding surfaces on the inside face and the edge of the upper rear window with isopropyl alcohol. Make sure the bonding surface is kept free of water, oil, and grease.
  12. Apply glass primer to the edge of the upper rear window (A) where the new lower seal (B) will be attached as shown. Attach the lower seal with adhesive tape to the lower edge of the upper rear window:
    • Be careful not to touch the window where the adhesive will be applied.
    • Make sure the lower seal line up with the alignment marks (C).
    • After installing the lower seal, cut the ends (D) of the lower seal as shown.
      Fig 7: Identifying Glass Primer Applying Area
      G06952243Courtesy of AMERICAN HONDA MOTOR CO., INC.
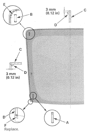
  13. Apply glass primer to the fasteners (A, B) mounting areas on the upper rear window (C), and let it dry. Attach the rubber dam (D) and the fasteners with the adhesive tape to the inside face of the upper rear window as shown.
    • Make sure the rubber dam and the fasteners align with the alignment marks (E).
    • Be careful not to touch the upper rear window where adhesive will be applied.
    • Make sure the rubber dam contacts with the lower seal (F). If necessary, cut the excess rubber dam.
      Fig 8: Attaching Rubber Dam And Fasteners With Adhesive Tape To Inside Face Of Upper Rear Window
      G06952244Courtesy of AMERICAN HONDA MOTOR CO., INC.
  14. Attach the fasteners (A, B) to the hatch as shown.
    Fig 9: Attaching Fasteners To Hatch
    G06952245Courtesy of AMERICAN HONDA MOTOR CO., INC.
  15. Set the upper rear window (A) in the opening, and center it. Make alignment marks (B) across the upper rear window and the body with a grease pencil at the four points shown. Be careful not to touch the upper rear window where the adhesive will be applied. Match both fasteners (C) with the body holes on the upper rear window glass.
    Fig 10: Identifying Alignment Marks On Upper Rear Window And Body
    G06952246Courtesy of AMERICAN HONDA MOTOR CO., INC.
  16. Remove the upper rear window.
  17. Apply a light coat of glass primer to the upper rear window (A) along the edge of the rubber dams (B) and lower seal (C) as shown, then lightly wipe it off with gauze or cheesecloth:
    • Apply the glass primer to the corner areas of the upper rear window using the printed dots (D) on the upper rear window as a guide.
    • Do not apply body primer to the upper rear window, and do not mix up the body primer applicators and the glass primer applicators.
    • Never touch the primed surfaces with your hands. If you do, the adhesive may not bond to the upper rear window properly, causing a leak after the upper rear window is installed.
    • Keep water, dust, and abrasive materials away from the primed surfaces.
      Fig 11: Identifying Glass Primer Applying Area
      G06952247Courtesy of AMERICAN HONDA MOTOR CO., INC.
  18. Carefully apply a light coat of body primer to any exposed paint or metal around the flange where new adhesive will be applied. Let the body primer dry for at least 10 minutes:
    • Do not apply body primer to any remaining original adhesive on the flange.
    • Be careful not to mix up the body primer applicators and the glass primer applicators.
    • Never touch the primed surfaces with your hands.
      Fig 12: Identifying Body Primer Applying Area
      G06952248Courtesy of AMERICAN HONDA MOTOR CO., INC.
  19. Cut a "V" in the end of the nozzle (A) on the adhesive cartridge as shown.
    Fig 13: Identifying Nozzle Cutting Dimension
    G06952249Courtesy of AMERICAN HONDA MOTOR CO., INC.
  20. Pack adhesive into the cartridge without air pockets to ensure continuous delivery. Put the cartridge in a caulking gun, and run a bead of adhesive (A) to the upper rear window (B) along the edge of the rubber dams (C) and the lower seal (D) as shown:
    • With the printed dots (E) on the upper rear window as a guide, apply the adhesive to both side portions of the upper rear window.
    • Apply the adhesive within 30 minutes after applying the glass primer. Make a slightly thicker bead at each corner.
      Fig 14: Packing Adhesive Into Cartridge Without Air Pockets
      G06952250Courtesy of AMERICAN HONDA MOTOR CO., INC.
  21. Hold the upper rear window with suction cups over the opening, align it with the alignment marks you made in step  15, and set it down on the adhesive. Lightly push on the upper rear window until its edges are fully seated on the adhesive all the way around.
    NOTE: Do not open or close any of the doors for about an hour until the adhesive is dry.
  22. Remove the excess adhesive with a putty knife or a shop towel dampened in isopropyl alcohol.
  23. Wait at least an hour for the adhesive to dry, then spray water over the upper rear window and check for leaks. Mark the leaking areas, let the upper rear window dry, then seal with sealant. Let the vehicle stand for at least 4 hours after upper rear window installation. If the vehicle has to be used within the first 4 hours, it must be driven slowly.
  24. Reinstall all remaining removed parts.
    NOTE: Advise the customer not to do the following things for 2 to 3 days:
    • Slam the doors with all the windows rolled up.
    • Twist the body excessively (such as when going in and out of driveways at an angle or driving over rough, uneven roads).