LEMON Manuals: Even more car manuals for everyone: 1960-2025
Home >> Honda >> 2012 >> CR-Z Base, Standard Trans >> Repair and Diagnosis >> Engine Mechanical >> Mechanical >> Engine Block >> Oil Pan Installation
April 5, 2026: LEMON Manuals is launched! Read the announcement.

Oil Pan Installation

  1. Remove all of the old liquid gasket from the oil pan mating surfaces, the bolts, and the bolt holes.
  2. Clean and dry the oil pan mating surfaces and the O-ring groove.
  3. Install the new oil pan gasket (A), the new O-ring (B), and the dowel pins (C) on the oil pan.
    Fig 1: Identifying Oil Pan Gasket, O-Ring And Dowel Pins
    G06949556Courtesy of AMERICAN HONDA MOTOR CO., INC.
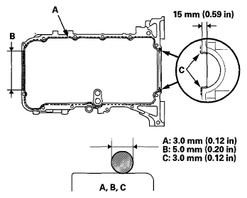
  4. Apply liquid gasket (P/N 08718-0004) to the engine block mating surface of the oil pan and to the inside edge of the bolt holes. Install the component within 5 minutes of applying the liquid gasket.
    NOTE:
    • Apply a 3.0 mm (0.12 in) diameter bead of liquid gasket along the broken line (A).
    • Apply a 5.0 mm (0.20 in) diameter bead of liquid gasket to the shaded area (B).
    • Apply a 3.0 mm (0.12 in) diameter bead of liquid gasket along the broken line (C).
    • If too much time has passed after applying the liquid gasket, remove the old liquid gasket and residue, then reapply new liquid gasket.
      Fig 2: Identifying Diameter Bead Of Liquid Gasket On Broken Lines
      G06949557Courtesy of AMERICAN HONDA MOTOR CO., INC.
  5. Install the oil pan.
    NOTE:
    • Raise the oil pan carefully not to damage IMA motor rotor position sensor.
    • Wait at least 30 minutes before filling the engine with oil.
    • Do not run the engine for at least 3 hours after installing the oil pan.
    • Make sure to install the bolts in the correct locations according to size.
      Fig 3: Identifying Oil Pan Bolts
      G06949558Courtesy of AMERICAN HONDA MOTOR CO., INC.
  6. Tighten the bolts in three steps. Wipe off the excess liquid gasket from crankshaft pulley end and the drive plate end.

    Specified torque 

    (1): 24 N.m (2.4 kgf.m, 18 lbf.ft) 

    (2) - (13): 12 N.m (1.2 kgf.m, 9 lbf.ft) 

    Fig 4: Oil Pan Bolts Tightening Sequence
    G06949559Courtesy of AMERICAN HONDA MOTOR CO., INC.
  7. Install the transmission mounting bolts.
    Fig 5: Transmission Mounting Bolts With Torque Specifications
    G06949560Courtesy of AMERICAN HONDA MOTOR CO., INC.
  8. Install the torque rod bracket (see TORQUE ROD BRACKET REPLACEMENT ).
  9. Install the torque rod (see TORQUE ROD REPLACEMENT ).
  10. CVT model: Install the driveshaft heat shield.
    Fig 6: Driveshaft Heat Shield And Bolt With Torque Specification
    G06949561Courtesy of AMERICAN HONDA MOTOR CO., INC.
  11. Connect the CKP sensor connector (A), then install the CKP sensor cover (B).
    Fig 7: CKP Sensor Connector And Cover With Torque Specifications
    G06949562Courtesy of AMERICAN HONDA MOTOR CO., INC.
  12. Install the dipstick tube (A) with a new O-ring (B), then install the dipstick.
    Fig 8: Dipstick Tube And O-Ring With Torque Specifications
    G06949563Courtesy of AMERICAN HONDA MOTOR CO., INC.
  13. If the engine is still in the vehicle, do steps 14 through  17.
  14. Install the A/C compressor (see step 24 on ENGINE INSTALLATION ).
  15. Install the drive belt (see DRIVE BELT REPLACEMENT ).
  16. Install the splash shield (see SPLASH SHIELD REPLACEMENT ).
  17. Refill the engine with engine oil (see ENGINE OIL REPLACEMENT ).