LEMON Manuals: Even more car manuals for everyone: 1960-2025
Home >> Honda >> 2012 >> CR-Z Base, Standard Trans >> Repair and Diagnosis >> Engine Mechanical >> Mechanical >> Engine Block >> Piston, Pin, and Connecting Rod Replacement >> Reassembly
April 5, 2026: LEMON Manuals is launched! Read the announcement.

Piston, Pin, and Connecting Rod Replacement: Reassembly

  1. Assemble the piston and the connecting rod with the arrow (A) and the embossed mark (B) on the same side.
    Fig 1: Identifying Arrow On Piston And Embossed Mark On Connecting Rod
    G06949531Courtesy of AMERICAN HONDA MOTOR CO., INC.
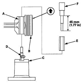
  2. Insert the pilot collar (A) into the piston and the connecting rod.
    Fig 2: Identifying Piston Assembly On Piston Base Head
    G06949532Courtesy of AMERICAN HONDA MOTOR CO., INC.
  3. With the arrow on top of the piston and the embossed mark on the connecting rod facing up, place the piston assembly (8) on the piston base head (C).

    Be sure you position the recessed flat area of the piston against the area of the piston base head (D) as shown.

  4. Press the pin (E) in with the insert pin and the insert adjust (F) and a hydraulic press.