LEMON Manuals: Even more car manuals for everyone: 1960-2025
Home >> Honda >> 2012 >> CR-Z Base, Standard Trans >> Repair and Diagnosis >> Engine Performance >> System >> Fuel Supply System >> Fuel Pulsation Damper Replacement
April 5, 2026: LEMON Manuals is launched! Read the announcement.

Fuel Pulsation Damper Replacement

  1. Remove the fuel rail (see INJECTOR REPLACEMENT ).
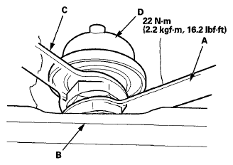
  2. Place a wrench (A) on the fuel rail (B).
    Fig 1: Removing Pulsation Damper With Torque Specifications
    G06950097Courtesy of AMERICAN HONDA MOTOR CO., INC.
  3. Place second wrench (C) on the fuel pulsation damper (D).
  4. Remove the pulsation damper by holding the first wrench while turning the second wrench.
  5. Install the fuel pulsation damper in the reverse order of removal with new washers.
    NOTE:
    • Replace all washers whenever the fuel pulsation damper is loosened or removed.
    • If the drain hole (A) of the fuel pulsation damper cover does not face down, reinstall it as shown.
      Fig 2: Identifying Drain Hole Of Fuel Pulsation Damper Cover
      G06950098Courtesy of AMERICAN HONDA MOTOR CO., INC.