LEMON Manuals: Even more car manuals for everyone: 1960-2025
Home >> Honda >> 2012 >> CR-Z Base, Standard Trans >> Repair and Diagnosis >> External Pages >> Different variant/trim >> Section 1 (CVT) >> CVT >> Shift Cable Replacement
April 5, 2026: LEMON Manuals is launched! Read the announcement.

Shift Cable Replacement

WARNING: This page is about a different variant/trim than selected.

SRS components are located in this area. Review the SRS component locations (see COMPONENT LOCATION INDEX ) and the precautions and procedures (see PRECAUTIONS AND PROCEDURES ) before doing repair or service.

  1. Raise the vehicle on a lift, or apply the parking brake, block rear wheels, and raise the front of the vehicle. Make sure it is securely supported.
  2. Remove the center console (see CENTER CONSOLE REMOVAL/INSTALLATION ).
  3. Apply the parking brake, and move the shift lever to N (A).
    Fig 1: Identifying Shift Lever N Position, Nut And Shift Cable End
    G06951096Courtesy of AMERICAN HONDA MOTOR CO., INC.
  4. Remove the nut (B) securing the shift cable end (C).
  5. Rotate the socket holder (A) on the shift cable (B) counterclockwise (C) a quarter turn; the corner (D) on the socket holder will be in the opening (E) of the shift lever bracket base (F). Then slide the socket holder to remove the shift cable from the shift lever bracket base. Do not remove the shift cable by pulling the shift cable guide (G).
    Fig 2: Rotating Socket Holder On Shift Cable Counterclockwise Quarter Turn
    G06951097Courtesy of AMERICAN HONDA MOTOR CO., INC.
  6. Remove the air cleaner (see AIR CLEANER ELEMENT INSPECTION/REPLACEMENT ).
  7. Remove the IMA motor power cable clamp (A) from the bracket (B).
    Fig 3: Locating IMA Motor Power Cable Clamp And Bracket
    G06951098Courtesy of AMERICAN HONDA MOTOR CO., INC.
  8. Disconnect the transmission range switch 8P connector (A), the CVT output shaft (driven pulley) speed sensor 3P connector (B), and the vehicle speed sensor 3P connector (C).
    Fig 4: Locating Transmission Range Switch 8P Connector, CVT Output Shaft (Driven Pulley) Speed Sensor 3P Connector And Vehicle Speed Sensor 3P Connector Components
    G06951099Courtesy of AMERICAN HONDA MOTOR CO., INC.
  9. Remove the harness holder (D) from the clamp bracket (E), and remove the harness cover (F) from the clamp bracket (G).
  10. Remove the clamp bracket (A).
    Fig 5: Locating Lock Pin, Control Pin And Selector Control Lever Components
    G06951100Courtesy of AMERICAN HONDA MOTOR CO., INC.
  11. Remove the lock pin (B) and the control pin (C) from the selector control lever (D).
  12. Remove the bolts securing the shift cable holder (E), then separate the shift cable end (F) from the selector control lever. Check the shift cable end collar (G) for wear or damage, and replace the shift cable (H) if necessary.
  13. Remove the heat shield (A), and the secondary HO2S harness clamp (B) from the clamp bracket (C) of the heat shield, then remove the heat shield (D).
    Fig 6: Locating Heat Shield, Secondary HO2S Harness Clamp And Clamp Bracket Components
    G06951101Courtesy of AMERICAN HONDA MOTOR CO., INC.
  14. Remove the nut securing the shift cable bracket (A).
    Fig 7: Locating Nut, Shift Cable Bracket, Shift Cable Grommet And Shift Cable With Torque Specifications
    G06951102Courtesy of AMERICAN HONDA MOTOR CO., INC.
  15. Remove the shift cable grommet (B), and pull out the shift cable (C).
  16. Insert a new shift cable through the grommet hole (D), and install the grommet in its hole. Do not bend the shift cable excessively. Then secure the shift cable bracket with the nut.
  17. Install the heat shield (A), then install the secondary HO2S harness clamp (B) to the clamp bracket (C) of the heat shield (D) and the heat shield.
    Fig 8: Locating Heat Shield, Secondary HO2S Harness Clamp And Clamp Bracket With Torque Specifications
    G06951103Courtesy of AMERICAN HONDA MOTOR CO., INC.
  18. Secure the shift cable holder (A) on the transmission with the bolts.
    Fig 9: Locating Shift Cable Holder And Clamp Bracket With Torque Specifications
    G06951104Courtesy of AMERICAN HONDA MOTOR CO., INC.
  19. Install the clamp bracket (B).
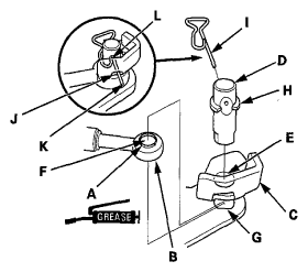
  20. Apply molybdenum grease to the hole in the shift cable end collar (A). Attach the shift cable end (B) to the selector control lever (C). Insert the control pin (D) through the selector control lever hole (E), through the shift cable end collar hole (F), and into the selector control lever slotted hole (G) in the direction shown. Push the control pin until its flange (H) contacts the selector control lever surface.
    Fig 10: Locating Selector Control Lever Opening, Hooked End And Countersunk Hole Components
    G06951105Courtesy of AMERICAN HONDA MOTOR CO., INC.
  21. Insert the lock pin (I) in the direction shown through the control pin hole and out the opening (J) of the selector control lever so that the hooked end (K) of the lock pin locks into the countersunk hole (L) of the control pin.
  22. Install the harness cover (A) to the clamp bracket (B), and install the harness holder (C) to the clamp bracket (D).
    Fig 11: Locating Connect Transmission Range Switch 8P Connector, CVT Output Shaft (Driven Pulley) Speed Sensor 3P Connector And Vehicle Speed Sensor 3P Connector Components
    G06951106Courtesy of AMERICAN HONDA MOTOR CO., INC.
  23. Connect the transmission range switch 8P connector (E), the CVT output shaft (driven pulley) speed sensor 3P connector (F), and the vehicle speed sensor 3P connector (G).
  24. Install the IMA motor power cable clamp (A) to the clamp bracket (B).
    Fig 12: Locating IMA Motor Power Cable Clamp And Clamp Bracket
    G06951107Courtesy of AMERICAN HONDA MOTOR CO., INC.
  25. Install the air cleaner (see AIR CLEANER ELEMENT INSPECTION/REPLACEMENT ).
  26. Turn the ignition switch to ON (II), and check that the N indicator comes on (A).
    Fig 13: Locating N Indicator
    G06951108Courtesy of AMERICAN HONDA MOTOR CO., INC.
  27. If necessary, push the shift cable (A) until it stops, then release it. Pull the shift cable back two steps so that the shift position is in N. Do not hold the shift cable guide (B) to adjust the shift cable.
    Fig 14: Pushing Shift Cable Until It Stops
    G06951109Courtesy of AMERICAN HONDA MOTOR CO., INC.
  28. Turn the ignition switch to LOCK (0).
  29. Place the shift lever in N (A), then insert a 6 mm (0.24 in) pin (B) into the positioning holes (C) on the shift lever bracket base and into the positioning hole on the shift lever. Use only the 6 mm (0.24 in) pin that is free of burrs.
    Fig 15: Identifying Shift Lever N Position
    G06951110Courtesy of AMERICAN HONDA MOTOR CO., INC.
  30. Check that the shift lever is secured in N.
  31. Rotate the socket holder (A) on the shift cable (B) to place the corner (C) on the holder opposite the opening (D) in the shift lever bracket base (E). Align the socket holder with the opening in the bracket, then slide the socket holder into the shift lever bracket base. Rotate the socket holder clockwise (F) a quarter turn until the socket holder stops to secure the shift cable. Install the shift cable end (G) over the mounting stud (H) by aligning its square hole with the square fitting (I) at the bottom of the stud.
    Fig 16: Rotating Socket Holder On Shift Cable To Place Corner On Holder Opposite Opening In Shift Lever Bracket Base
    G06951111Courtesy of AMERICAN HONDA MOTOR CO., INC.
  32. Check that the shift cable end is properly installed on the mounting stud.
    Fig 17: Checking That Shift Cable End Properly Installed On Mounting Stud
    G00514309Courtesy of AMERICAN HONDA MOTOR CO., INC.
  33. If the cable end is out of position on the mounting stud, remove the shift cable from the bracket, and reinstall the shift cable. Do not install the shift cable end on the mounting stud while the shift cable in on the bracket. If the cable end rides on the bottom of the mounting stud, rotate the stud and align the square fitting with the hole.
  34. Secure the shift cable end with the nut (A).
    Fig 18: Shift Cable End Nut With Torque Specifications
    G06951113Courtesy of AMERICAN HONDA MOTOR CO., INC.
  35. Remove the 6 mm (0.24 in) pin (B) that was installed to hold the shift lever.
  36. Turn the ignition switch to ON (II). Move the shift lever to each position, and check that the A/T gear position indicator follows the transmission range switch.
  37. Shift the shift lever to P, and check that the shift lock works properly. Push the shift lock release, and check that the shift lever releases, and also check that the shift lever locks when it is shifted back into P.
  38. Install the center console (see CENTER CONSOLE REMOVAL/INSTALLATION ).