LEMON Manuals: Even more car manuals for everyone: 1960-2025
Home >> Honda >> 2012 >> Civic L4-1.8L >> Repair and Diagnosis >> Windows and Glass >> Windshield >> Service and Repair
April 5, 2026: LEMON Manuals is launched! Read the announcement.

Windshield: Service and Repair






Windshield Removal and Installation

Removal

1. Wiper Arm Assembly





NOTE: Set the wiper arms to the auto-stop position before removal.

1. Remove the cowl top wiper covers (A).

2. Remove the wiper arms (B).

2. Both Side Cowl Covers





1. Remove the side cowl cover (A).

2. The left side is shown; repeat on the right side.

3. Center Cowl Cover





1. Remove the center cowl cover (A).

2. Disconnect the windshield washer tube (B).

3. If necessary, remove the hood rear seal (C).

4. Front Door Opening Seal As Needed Both





1. Remove front door opening seal (A) as needed.

2. Repeat on the opposite side.

5. A-Pillar Trim Both





1. Pull out the A-pillar trim (A) to release the clips.





2. Put a shop towel (A) in the opening between the A-pillar trim (B) and the dashboard to prevent dropping the A-pillar clips.





3. Disconnect the connector (A), then remove the A-pillar trim (B).

NOTE: The upper clip (C) will stay in the body.





4. Remove the upper clip (A) from the body.

5. Repeat on the opposite side.

6. Rearview Mirror





1. Remove the rearview mirror (A).

7. Both Sunvisors





1. Push the hook (A) with a flat-tip screwdriver through the hole in the front side of the bracket cover (B).

NOTE: Make sure the hook is unlocked.





2. While pushing in the hook (A) with a flat-tip screwdriver, release the sunvisor (B) from the holder (C), and rotate the sunvisor backward 45 °.

NOTE: Make sure the hook slides into the bracket cover as you rotate the sunvisor.





3. Disconnect the connector (A), then remove the sunvisor (B).

NOTE: If the sunvisor cannot be removed, the hook has not rotated into the bracket cover. Repeat step 2 to rotate the hook.





4. If necessary, turn the sunvisor holder (A) 45 ° counterclockwise, then remove it from the holder grommet (B).





5. If necessary, remove the holder grommet (A).

8. Front Individual Map Light (without moonroof)





1. Turn the front individual map light switch OFF.

2. Carefully pry off the lenses (A) with a flat-tip screwdriver.

3. Disconnect the connector.

4. Remove the front individual map light (B).

9. Headliner As Needed - Front Side





1. Remove the front of the headliner (A) as needed.

10. Roof Molding Both





1. Apply the protective tape (A) to the body.

2. Pry up the roof molding (B) with a trim tool.

3. Pull up and slide the roof molding to release the front bracket (C) from the pin (D).





4. Pull up the front area of the roof moldings (A).





5. Pull up and release the rear bracket (A) from the pin (B), then remove the roof moldings (C).

6. Repeat on the opposite side.

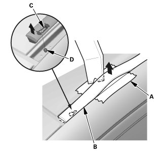
11. Windshield





1. Remove the windshield molding (A) and the windshield side moldings (B). If necessary, cut the windshield moldings with a utility knife.





Cutting positions





2. If the original windshield will be reinstalled, make alignment marks across the windshield and body with a grease pencil.

3. Apply protective tape along the edge of the dashboard and the body. Make a hole with an awl through the rubber dam and the adhesive from inside the vehicle at a corner of the windshield. Push a piece of piano wire through the hole, and wrap each end around a piece of wood.

4. With a helper on the outside, pull the piano wire (A) back and forth in a sawing motion. Hold the piano wire as close to the windshield (B) as possible to prevent damage to the body and the dashboard. Carefully cut through the rubber dam and adhesive (C) around the entire windshield.

5. Carefully remove the windshield.

Installation

1. Windshield

2-door





4-door





1. Scrape smooth the original adhesive with a putty knife, until there is a thickness of about 2mm (0.08 in) on the bonding surface around the entire windshield opening flange:

* Do not scrape down to the painted surface of the body; damaged paint will interfere with proper bonding.
* Remove the rubber dam from the body.

2. Clean the body bonding surface with a shop towel dampened with isopropyl alcohol. After cleaning, keep oil, grease and water from getting on the clean surface.

3. If you are reinstalling the original windshield, scrape off the original adhesive and the rubber dam from the windshield with a putty knife. Clean the bonding surfaces on the inside face and the edge of the windshield with isopropyl alcohol. Make sure the bonding surface is kept free of water, oil, and grease.

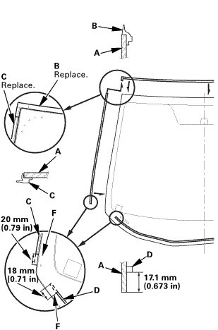
4. Apply glass primer to the upper clip mounting areas on the windshield (A), and let it dry. Remove the adhesive backing and attach the windshield molding (B), the windshield side moldings (C), rubber dam (D), and the upper clips (E) (4-door) with adhesive tape to the inside face of the windshield as shown:

* Make sure the rubber dam and the upper clips line up with the alignment marks (F).
* Be careful not to touch the windshield where the adhesive will be applied.





5. Set the windshield (A) in the opening, and center it. Make alignment marks (B) across the windshield and the body with a grease pencil at the four points shown:

* Make sure both clips (C) contact with the edge of the body holes.
* Be careful not to touch the windshield where the adhesive will be applied.

6. Remove the windshield.





7. Apply a light coat of glass primer along the edge of the windshield (A) between the rubber dam (B) or the windshield moldings (C) as shown, then lightly wipe it off with gauze or cheesecloth:

* Apply the glass primer to around edge of the windshield using the printed dots (D) on the windshield as a guide.
* Do not apply body primer to the windshield, and do not mix up the body and glass primer applicators.
* Never touch the primed surfaces with your hands. If you do, the adhesive may not bond to the windshield properly, causing a leak after the windshield is installed.
* Keep water, dust, and abrasive materials away from primed surfaces.





8. Carefully apply a light coat of the body primer to any exposed paint or metal on the windshield mounting flange. Let the body primer dry for at least 10 minutes:

* Do not apply the glass primer to any remaining original adhesive on the flange.
* Cover on the dashboard before applying the body primer.
* Be careful not to mix up the body and glass primer applicators.
* Never touch the primed surfaces with your hands.





9. Cut a "V" in the end of the nozzle (A) on the adhesive cartridge as shown.





10. Put the cartridge in a caulking gun, and run a continuous bead of the adhesive (A) around the edge of the windshield (B) along the edge of the rubber dam (C) and the windshield moldings (D) as shown:

* Use the printed dots (E) as a guide when you apply the adhesive to the windshield.
* Apply the adhesive within 30 minutes after applying the glass primer.
* Make a slightly thicker bead at each corner.

11. Pull out the glass side adhesive backing away from the lower rubber dam.

12. Hold the windshield with suction cups over the opening, align it with the alignment marks made in step 5, and set it down on the adhesive. Lightly push on the windshield until its edges are fully seated on the adhesive all the way around.

NOTE: Do not open or close any of the doors for about an hour until the adhesive is dry.

13. Remove the excess adhesive with a putty knife or a shop towel dampened with isopropyl alcohol.

14. Wait at least an hour for the adhesive to dry, then spray water over the windshield and check for leaks. Mark the leaking areas, let the windshield dry, then seal with sealant: Let the vehicle stand for at least 4 hours after windshield installation. If the vehicle has to be used within the first 4 hours, it must be driven slowly.

15. Advise the customer not to do the following things for 2 to 3 days:

* Slam the doors with all the windows rolled up.
* Twist the body excessively (such as when going in and out of driveways at an angle or driving over rough, uneven roads).

2. Roof Molding Both





1. Install the rear bracket (A) to the pin (B).





2. Install the roof molding (A).





3. Install the rear bracket (A) to the pin (B).

4. Repeat on the opposite side.





5. Make sure the roof molding (A) is installed securely.

3. Headliner As Needed - Front Side





1. Install the front of the headliner (A).

4. Front Individual Map Light (without moonroof)





1. Connect the connector.

2. Install the front individual map light (A).

3. Carefully install the lenses (B).

5. Both Sunvisors





1. Install the holder (A) into the holder grommet (B) by turning it 45 ° clockwise.

2. Install the holder and holder grommet as an assembly into the body by pushing it until the hooks snap into place securely.





3. Connect the connector (A), and install the sunvisor (B).





4. While holding the bracket cover (A), rotate the sunvisor (B) forward until the hook (C) snaps into place.

5. Gently pull down on the sunvisor to make sure it is properly secured in the body.

6. Rotate the sunvisor into the holder (D).

6. Rearview Mirror





1. Install the rearview mirror (A).

7. A-Pillar Trim Both





1. Carefully install the new upper clip (A) to the A-pillar trim (B).





2. Connect the connector (A).

3. Fit the clips into the holes in the A-pillar.

4. Lightly push the A-pillar trim (B) into place, then install the trim.

NOTE:
* Make sure the side curtain airbag is not tucked under the clips or the trim ribs.
* Do not push too hard on the A-pillar trim. If you push too hard, the clip will be damaged, and it will not hold the trim properly.
* Gently tug on the A-pillar trim to verify that all clips are securely fastened.

5. Repeat on the opposite side.

8. Front Door Opening Seal as Needed Both





1. Install front door opening seal (A).

2. Repeat on the opposite side.

9. Center Cowl Cover





1. If necessary, install the hood rear seal (A).

2. Connect the windshield washer tube (B).

3. Install the center cowl cover (C).

10. Both Side Cowl Covers





1. Install the side cowl cover (A).

2. The left side is shown; repeat on the right side.

11. Wiper Arm Assembly





NOTE: Set the wiper arms to the auto-stop position before installation.

1. Install the wiper arms (A).

2. Install the cowl top wiper covers (B).

12. Water Leak Test




Check for water leaks. Run water over the roof and on the sealing area as shown, and note these items:
* Use a 12 mm (0.47 in) diameter hose (A).
* Adjust the rate of water flow as shown.
* Do not use a nozzle.
* Hold the hose about 300 mm (12 in) away from the door.

13. Wiper Arm/Nozzle - Adjustment

NOTICE:
* Adjust the washer nozzles by gently gripping, and then moving, the outside of each nozzle (A).
* Do not insert tools into the nozzle hole (B), as it may cause the washer fluid to spray incorrectly.

1. Turn the ignition switch to ON (II), then turn the wiper switch ON, and then back OFF.






2. When the wiper arms stop at the auto-stop position, make sure that they are at the correct position:

* Position (a) from the top of the cowl cover (C):

- 2-Door: 63.5 mm (2.500 in)
- 4-Door: 72.4 mm (2.850 in)

* Position (b) from the top of the cowl cover:

- 2-Door: 24.5 mm (0.965 in)
- 4-Door: 25.6 mm (1.008 in)

3. When you turn on the washer(s), make sure 50 % or more of the washer fluid lands within the spray area. If the spray area is not within the standard positions, adjust the nozzle(s):

* Position (c) from the top of the black ceramic area (D) at the lower windshield:

- 2-Door: 155.1 mm (6.106 in)
- 4-Door: 133 mm (5.24 in)

* Position (b) from the windshield center line (E):

- 2-Door: 250 mm (9.84 in)
- 4-Door: 250 mm (9.84 in)