LEMON Manuals: Even more car manuals for everyone: 1960-2025
Home >> Honda >> 2012 >> Fit Base, Automatic Trans >> Repair and Diagnosis >> Accessories & Equipment >> Infotainment >> Navigation System >> System Description >> Overview
April 5, 2026: LEMON Manuals is launched! Read the announcement.

System Description: Overview

The navigation system is a highly-sophisticated, hybrid locating system that uses satellites and a map database to show you where you are and to help guide you to a desired destination.

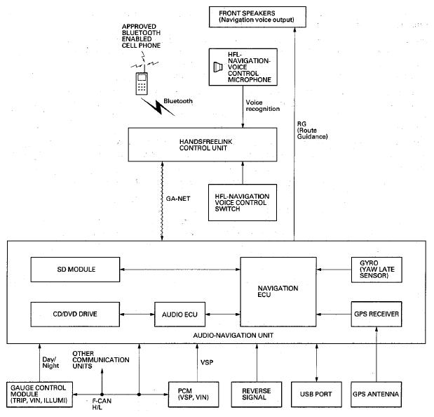
The navigation system receives signals from the global positioning system (GPS), a network of 24 satellites in orbit around the earth. By receiving signals from several of these satellites, the navigation system can determine the latitude, longitude, and elevation of the vehicle. In addition, signals from the system's yaw rate sensor and the ECM/PCM (vehicle speed pulse) enable the system to keep track of the vehicle's direction and speed of travel.

This hybrid system has advantages over a system that is either entirely self-contained or one that relies totally on the GPS. For example, the self-contained portion of the system can keep track of vehicle position even when satellite signals cannot be received like when you are driving through a tunnel. When the navigation system is on, the GPS can keep track of the vehicle position even when the vehicle is transported by ferry.

The navigation system applies all location, direction, and speed information to maps and calculates a route to the destination entered. As you drive to that destination, the system provides both visual and audio guidance.

This navigation system also has voice recognition that allows voice control of most of the navigation functions. The Navigation TALK and Navigation BACK buttons on the steering wheel activate the voice control. The voice control also allows control of the audio and climate functions.

The illumination signal (dashboard brightness setting) is used by the audio-navigation unit to automatically switch the display between Night and Day brightness modes. When the gauge control module brightness control is set to max brightness, the audio-navigation system stays in the day mode, even with the headlights on. The max brightness signal is passed to the navigation unit through the F-CAN bus.

Fig 1: Navigation System Diagram
G08083159Courtesy of AMERICAN HONDA MOTOR CO., INC.