LEMON Manuals: Even more car manuals for everyone: 1960-2025
Home >> Honda >> 2012 >> Fit Base, Automatic Trans >> Repair and Diagnosis >> Body & Frame >> Windows >> Glass >> Rear Window Replacement
April 5, 2026: LEMON Manuals is launched! Read the announcement.

Rear Window Replacement

NOTE:
  • Put on gloves to protect your hands.
  • Wear eye protection while cutting the glass adhesive with a piano wire.
  • Use seat covers to avoid damaging any surfaces.
  • Do not damage the rear window defogger grid lines or terminals.
  1. Remove these items:
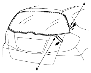
  2. Remove rubber dams A and B from the edge of the rear window. If necessary, cut the rubber dam with a utility knife.
    Fig 1: Identifying Rubber Dams
    G05959452Courtesy of AMERICAN HONDA MOTOR CO., INC.
  3. Disconnect the rear window defogger connectors (A).
    Fig 2: Identifying Rear Window Defogger Connectors
    G05959453Courtesy of AMERICAN HONDA MOTOR CO., INC.
  4. If you are reinstalling the old rear window, make alignment marks (A) across the glass and body with a grease pencil.
    Fig 3: Identifying Alignment Marks On Glass & Body
    G05959454Courtesy of AMERICAN HONDA MOTOR CO., INC.
  5. Apply protective tape along the inside and outside edges of the tailgate. Make a hole with an awl through the adhesive from inside the vehicle at a corner of the rear window. Push a piece of piano wire through the hole, and wrap each end around a piece of wood.
  6. With a helper on the outside, pull the piano wire (A) back and forth in a sawing motion. Hold the piano wire as close to the rear window (B) as possible to prevent damage to the tailgate, and carefully cut through the adhesive (C) around the entire rear window.
    Fig 4: Cutting Adhesive Using Piano Wire
    G05959455Courtesy of AMERICAN HONDA MOTOR CO., INC.

    Cutting positions 

    Fig 5: Identifying Rear Window Cutting Positions
    G05959456Courtesy of AMERICAN HONDA MOTOR CO., INC.
  7. Carefully remove the rear window.
  8. Scrape smooth the old adhesive, using a putty knife or similar tool, until there is a thickness of about 2 mm (0.08 in.) on the bonding surface around the entire rear window opening flange:
    • Do not scrape down to the painted surface of the body; damaged paint will interfere with proper bonding.
    • Remove the fasteners from the tailgate.
  9. Clean the tailgate bonding surface with a shop towel dampened in isopropyl alcohol. After cleaning, keep oil, grease, and water from getting on the surface.
  10. If you are reinstalling the old rear window, use a putty knife to scrape off all of the old adhesive, the fasteners and the rubber dams from the rear window. Clean the bonding surface on the inside face and the edge of the rear window with isopropyl alcohol. Make sure the bonding surface is kept free of water, oil, and grease.
  11. Apply glass primer to the inside face of the rear window (C) as shown, and let the primer dry, then attach rubber dams A and B with adhesive tape to the inside face of the rear window.
    • Be sure the rubber dam A lines up with alignment marks (D, E).
    • Be careful not to touch the rear window where adhesive will be applied.
    • Cut both ends of rubber dam A flush with the bottom edge of the rear window.
    • Cut both ends of rubber dam B along the alignment marks (F) as shown below.
      Fig 6: Identifying Rear Window Primer Apply Area
      G05959457Courtesy of AMERICAN HONDA MOTOR CO., INC.
  12. Apply primer to the areas of rubber dam A where rubber dams D attach as shown, then attach rubber dams D with adhesive tape to rubber dam A as shown below.
    • Be sure the rubber dams D line up with the alignment marks (B).
    • Be careful not to touch the rear window where adhesive will be applied.
      Fig 7: Identifying Rubber Dam
      G05959458Courtesy of AMERICAN HONDA MOTOR CO., INC.
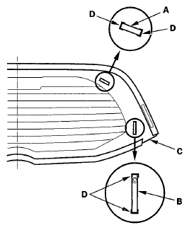
  13. Attach fasteners A and B with adhesive tape to the inside face of the rear window (C) as shown below.
    • Be sure the fasteners line up with the alignment marks (D).
    • Be careful not to touch the rear window where adhesive will be applied.
      Fig 8: Identifying Fasteners Adhesive Tape On Rear Window
      G05959459Courtesy of AMERICAN HONDA MOTOR CO., INC.
  14. Attach the fasteners (A, B) with adhesive tape to the tailgate as shown.
    Fig 9: Identifying Tailgate Fastener Locations
    G05959460Courtesy of AMERICAN HONDA MOTOR CO., INC.
  15. If you are installing a new rear window, set the rear window (A) in the opening, and center it. Make alignment marks (C) across the rear window and body with a grease pencil at the four points shown. Make sure fasteners B contact with the holes of the tailgate corners. Be careful not to touch the rear window where adhesive will be applied.
    Fig 10: Identifying Alignment Marks On Rear Window & Body
    G05959461Courtesy of AMERICAN HONDA MOTOR CO., INC.
  16. Remove the rear window.
  17. Apply a light coat of glass primer around the edge of the rear window (A) and along the rubber dams (B) as shown below, then lightly wipe it off with gauze or cheesecloth:
    • Apply the glass primer to both side portions of the rear window, using the printed dots (C) on the rear window as a guide.
    • Do not apply body primer to the rear window, and be careful not to mix up the body and glass primer sponges.
    • Never touch the primed surfaces with your hands. If you do, the adhesive may not bond to the rear window properly, causing a leak after the rear window is installed.
    • Keep water, dust, and abrasive materials away from the primed surfaces.
      Fig 11: Identifying Rear Window Primer Apply Area
      G05959462Courtesy of AMERICAN HONDA MOTOR CO., INC.
  18. Apply a light coat of body primer to any exposed paint or metal around the flange where new adhesive will be applied. Let the body primer dry for at least 10 minutes:
    • Do not apply body primer to any remaining original adhesive on the flange.
    • Be careful not to mix up the body and glass primer sponges.
    • Never touch the primed surfaces with your hands.
      Fig 12: Identifying Rear Window Body Primer Apply Area
      G05959463Courtesy of AMERICAN HONDA MOTOR CO., INC.
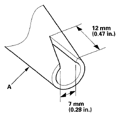
  19. Cut a "V" in the end of the nozzle (A) on the adhesive cartridge as shown below.
    Fig 13: Identifying Adhesive Cartridge Nozzle Dimension
    G05959464Courtesy of AMERICAN HONDA MOTOR CO., INC.
  20. Put the cartridge in a caulking gun, and run a continuous bead of adhesive (A) around the edge of the rear window (B) and along the rubber dams (C) as shown below. Apply the adhesive to both side portions of the rear window, using the printed dots (D) on the rear window as a guide. Apply the adhesive within 30 minutes after applying the glass primer. Make a slightly thicker bead at each corner.
    Fig 14: Identifying Bead Of Adhesive Around Edge Of Rear Window & Along Rubber Dams
    G05959465Courtesy of AMERICAN HONDA MOTOR CO., INC.
  21. Use suction cups to hold the rear window over the opening, align it with the alignment marks you made in step  4 or step  15, and set it down on the adhesive. Lightly push on the rear window until its edges are fully seated on the adhesive all the way around.
    NOTE: Do not open or close any of the doors for about an hour until the adhesive is dry.
  22. Remove the excess adhesive with a putty knife or a shop towel dampened with isopropyl alcohol.
  23. Wait at least one hour for the adhesive to dry, then spray water over the rear window and check for leaks. Mark the leaking areas, let the rear window dry, then seal with sealant. Let the vehicle stand for at least 4 hours after rear window installation. If the vehicle has to be used within the first 4 hours, it must be driven slowly.
  24. Reinstall all remaining removed parts.
    NOTE: Advise the customer not to do the following things for 2 to 3 days:
    • Slam the doors with all the windows rolled up.
    • Twist the body excessively (such as when going in and out of driveways at an angle or driving over rough, uneven roads).