LEMON Manuals: Even more car manuals for everyone: 1960-2025
Home >> Honda >> 2012 >> Fit Base, Automatic Trans >> Repair and Diagnosis >> Engine Mechanical >> Mechanical >> Engine Block >> Piston, Pin, and Connecting Rod Replacement >> Disassembly
April 5, 2026: LEMON Manuals is launched! Read the announcement.

Piston, Pin, and Connecting Rod Replacement: Disassembly

  1. Remove the piston from the engine block.
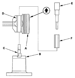
  2. Assemble the special tool as shown below.
    Fig 1: Assembling Special Tool
    G05952608Courtesy of AMERICAN HONDA MOTOR CO., INC.
  3. Temporarily install the pilot collar, O.D. 18 mm (A) over the pilot pin (B), and adjust the piston base head (C) as shown, then tighten the screws (D). Remove the pilot collar.
    Fig 2: Identifying Pilot Collar, Pilot Pin & Screws
    G05952609Courtesy of AMERICAN HONDA MOTOR CO., INC.
  4. Assemble and adjust the length of the adjustable piston pin driver head (A) and insert adjust (B) to 45 mm (1.77 in).
    Fig 3: Identifying Length Of Adjustable Piston Pin Driver Head
    G00504601Courtesy of AMERICAN HONDA MOTOR CO., INC.
  5. With the arrow on top of the piston pointing up, place the piston/connecting rod assembly (A) on the piston base head (B). Be sure you position the recessed flat area of the piston against the area of the piston base head (C) as shown.
    Fig 4: Placing Piston Assembly On Special Tool
    G05952611Courtesy of AMERICAN HONDA MOTOR CO., INC.
  6. Press the piston pin (D) out with the adjustable piston pin driver head and insert adjust (E), the pilot collar (F), and a hydraulic press.