LEMON Manuals: Even more car manuals for everyone: 1960-2025
Home >> Honda >> 2012 >> Fit Base, Automatic Trans >> Repair and Diagnosis >> Engine Performance >> System >> Fuel Supply System >> Fuel Tank Unit Removal and Installation >> Installation
April 5, 2026: LEMON Manuals is launched! Read the announcement.

Fuel Tank Unit Removal and Installation: Installation

  1. Temporarily attach a new base gasket (A) to the fuel tank unit (B), then insert the fuel tank unit partially into the fuel tank.
    NOTE:
    • Be careful not to damage the new base gasket.
    • Be careful not to bend the fuel gauge sending unit.
    • Do not coat the base gasket with oil.
      Fig 1: Identifying Base Gasket & Fuel Tank Unit
      G05953170Courtesy of AMERICAN HONDA MOTOR CO., INC.
  2. Transfer the base gasket (A) from the fuel tank unit to the fuel tank.
    Fig 2: Identifying Transfer Base Gasket Position
    G05953171Courtesy of AMERICAN HONDA MOTOR CO., INC.
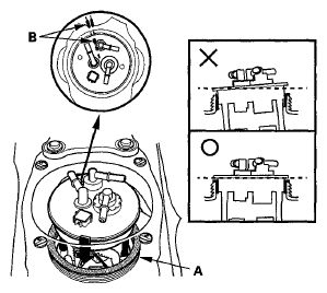
  3. Align the marks (B) on the fuel tank and fuel tank unit, then insert the fuel tank unit into the fuel tank until the fuel tank unit rests on top of the base gasket.
    NOTE: To avoid a fuel leak, check the base gasket, visually or by hand, to make sure it is not pinched.
  4. Using the special tool, tighten a new locknut (A) with a new locknut plate (B) to the specified torque.
    NOTE:
    • Before tightening, align the marks (C) on the fuel tank and the locknut.
    • After tightening, make sure the marks are still aligned.
    • After installation, check the base gasket, visually or by hand, to make sure it is not pinched.
      Fig 3: Locknut Plate With Torque Specifications
      G05953172Courtesy of AMERICAN HONDA MOTOR CO., INC.
  5. Connect the fuel tank unit 4P connector, then connect the quick-connect fitting, the suction hose, and the fuel vapor hose.
  6. Reconnect the negative cable to the battery, and turn the ignition switch to ON (II) (but do not operate the starter motor). The fuel pump will run for about 2 seconds, and fuel pressure rises. Repeat this two or three times, then check for fuel leaks.
  7. Reinstall the access panel, the parking brake lever, and the center console.