LEMON Manuals: Even more car manuals for everyone: 1960-2025
Home >> Honda >> 2012 >> Fit Base, Automatic Trans >> Repair and Diagnosis >> External Pages >> Different car >> Section 4 (Audio System) >> Audio Unit Removal/Installation
April 5, 2026: LEMON Manuals is launched! Read the announcement.

Audio Unit Removal/Installation

WARNING: This page is about a different car, the 2011 Honda Fit, 2010 Honda Fit, and 2009 Honda Fit. However, it is still accessible from the selected car via links, so may be relevant.

SRS components are located in this area. Review the SRS component location (see COMPONENT LOCATION INDEX ).

Also review the precautions and procedures (see PRECAUTIONS AND PROCEDURES ) in the SRS section before doing repairs or service.

NOTE:
  • Put on gloves to protect your hands.
  • Take care not to scratch the dashboard and related parts.
  • Lay a workshop towel under the parts when working on them to protect the face panel from scratches or other damage.
  • Do not work in a dusty or dirty place.
  • Discharge static electricity from your body before and during the work.
  • Do not touch the circuit board(s) with your bare hands.
  • Do not work with dirty hands.
  • Be careful not to fold the flat plate cable.
  • Eject the all the discs before removing the audio unit to prevent damaging the audio disc player's load mechanism.
  • If you are replacing the audio unit, write down the audio presets (if possible), and enter them into the new audio unit.
  1. Make sure you have the 4-digit anti-theft codes for the audio system.
  2. Remove the center lower cover (see DASHBOARD CENTER LOWER COVER REMOVAL/INSTALLATION ).
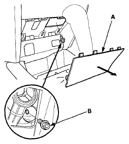
  3. Move the recirculation control lever to FRESH to ease access, then remove the mounting bolt (B).
    Fig 1: Identifying Mounting Bolt
    G06768858Courtesy of AMERICAN HONDA MOTOR CO., INC.
  4. Open the dashboard upper tray lid. Insert a flat-tip screwdriver in the groove (A), then pull the screwdriver shaft up slightly.
    Fig 2: Removing Dashboard Upper Tray Lid
    G06768859Courtesy of AMERICAN HONDA MOTOR CO., INC.
  5. Pull the center panel (A) out and disconnect the connectors, then remove the center panel.
    NOTE: When you disconnect audio unit connector A, while pushing the tab (B), pull the lever (C) up and disconnect the connector.
    Fig 3: Pulling Center Panel
    G06768860Courtesy of AMERICAN HONDA MOTOR CO., INC.
  6. Remove the USB adapter unit (see USB ADAPTER UNIT REPLACEMENT ).
  7. Remove the mounting screws and bolts from the audio unit (A), then remove the bracket (B).
    Fig 4: Mounting Screws And Bolts From Audio Unit With Torque Specifications
    G06768861Courtesy of AMERICAN HONDA MOTOR CO., INC.
  8. Remove the screws and the audio unit (A) from the center panel (B).
    Fig 5: Removing Screws And Audio Unit From Center Panel
    G06768862Courtesy of AMERICAN HONDA MOTOR CO., INC.
  9. Install the audio unit in the reverse order of removal, and note these items:
    • Make sure all connectors are secure.
    • Enter the anti-theft codes for the audio system.
    • Set the clock.