LEMON Manuals: Even more car manuals for everyone: 1960-2025
Home >> Honda >> 2012 >> Fit Base, Standard Trans >> Repair and Diagnosis >> Body & Frame >> Windows >> Glass >> Quarter Glass Replacement
April 5, 2026: LEMON Manuals is launched! Read the announcement.

Quarter Glass Replacement

NOTE:
  • Put on gloves to protect your hands.
  • Wear eye protection while cutting the glass adhesive with a piano wire.
  • Use seat covers to avoid damaging any surfaces.
  1. Remove these items:
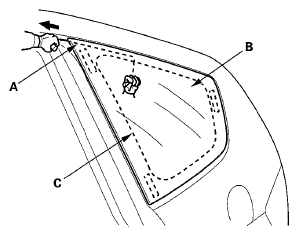
  2. Remove the rubber dam (A) from the front edge of the quarter glass (B). If necessary, cut the rubber dam with a utility knife.
    Fig 1: Identifying Rubber Dam & Quarter Glass
    G05959466Courtesy of AMERICAN HONDA MOTOR CO., INC.
  3. Apply protective tape to along the inside and outside edges of the body. Make a hole with an awl through the adhesive from inside the vehicle. Push a piece of piano wire through the hole, and wrap each end around a piece of wood.
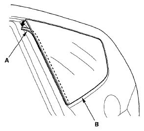
  4. With a helper on the outside, pull the piano wire (A) back and forth in a sawing motion. Hold the piano wire as close to the quarter glass (B) as possible to prevent damage to the body, and carefully cut through the adhesive (C) around the entire quarter glass.
    Fig 2: Cutting Adhesive Using Piano Wire
    G05959467Courtesy of AMERICAN HONDA MOTOR CO., INC.

    Cutting positions 

    Fig 3: Identifying Quarter Glass Cutting Positions
    G05959468Courtesy of AMERICAN HONDA MOTOR CO., INC.
  5. Carefully remove the quarter glass.
  6. Scrape smooth the old adhesive, using a putty knife or similar tool, until there is a thickness of about 2 mm (0.08 in.) on the bonding surface around the entire quarter glass opening flange:
    • Do not scrape down to the painted surface of the body; damaged paint will interfere with proper bonding.
    • Remove the clips and rubber dams from the body.
  7. Clean the body bonding surface with a shop towel dampened in isopropyl alcohol. After cleaning, keep oil, grease, and water from getting on the surface.
  8. If you are reinstalling the old quarter glass, make alignment marks (A) along the edge of the old rear clip (B) as shown for installing the new rear clip.
    Fig 4: Identifying Rear Clip & Alignment Marks
    G05959469Courtesy of AMERICAN HONDA MOTOR CO., INC.
  9. If you are reinstalling the old quarter glass, use a putty knife to scrape off all of the old adhesive, clips and the rubber dams from the quarter glass. Clean the bonding surfaces on the inside face and the edge of the quarter glass with isopropyl alcohol. Make sure the bonding surface is kept free of water, oil, and grease.
  10. Attach rubber dam A and rubber dam B with adhesive tape to the inside face of the quarter glass (C) as shown:
    • Be careful not to touch the quarter glass where adhesive will be applied.
    • Be sure rubber dam B contacts with rubber dam A.
      Fig 5: Identifying Rubber Dam & Quarter Glass
      G05959470Courtesy of AMERICAN HONDA MOTOR CO., INC.
  11. Attach clips A, B, and C with adhesive tape to the inside face of the quarter glass (D) as shown:
    • If you are reinstalling the old quarter glass, align clip C with the alignment marks (E) you made in step  8.
    • If you are installing a new quarter glass, align clip C with the alignment marks (F) on the glass.
    • Make sure the index tabs (G) on clips A and B face the top of the glass.
    • Be careful not to touch the quarter glass where adhesive will be applied.
      Fig 6: Identifying Clips & Quarter Glass
      G05959471Courtesy of AMERICAN HONDA MOTOR CO., INC.
  12. Apply a light coat of glass primer a long the edge of the quarter glass (A) and rubber dams (B) as shown, then lightly wipe it off with gauze or cheesecloth:
    • Apply the glass primer to the corner portions of the quarter glass, using the printed dots (C) on the quarter glass as a guide.
    • Do not apply body primer to the quarter glass, and be careful not to mix up the body and glass primer sponges.
    • Never touch the primed surfaces with your hands. If you do, the adhesive may not bond to the quarter glass properly, causing a leak after the quarter glass is installed.
    • Keep water, dust, and abrasive materials away from the primed surfaces.
      Fig 7: Identifying Quarter Glass Primer Apply Area
      G05959472Courtesy of AMERICAN HONDA MOTOR CO., INC.
  13. Apply a light coat of body primer to any exposed paint or metal around the flange where new adhesive will be applied. Let the body primer dry for at least 10 minutes:
    • Do not apply body primer to any remaining original adhesive on the flange.
    • Be careful not to mix up the body and glass primer sponges.
    • Never touch the primed surfaces with your hands.
      Fig 8: Identifying Quarter Glass Body Primer Apply Area
      G05959473Courtesy of AMERICAN HONDA MOTOR CO., INC.
  14. Cut a "V" in the end of the nozzle (A) on the adhesive cartridge as shown below.
    Fig 9: Identifying Adhesive Cartridge Nozzle Dimension
    G00491967Courtesy of AMERICAN HONDA MOTOR CO., INC.
  15. Put the cartridge in a caulking gun, and run a continuous bead of adhesive (A) around the edge of the quarter glass (B) and along the rubber dams (C) as shown below. Apply the adhesive to the corner portions of the quarter glass, using the printed dots on the glass as a guide. Apply the adhesive within 30 minutes after applying the glass primer. Make a slightly thicker bead at each corner.
    Fig 10: Identifying Bead Of Adhesive Around Edge Of Quarter Glass & Along Rubber Dams
    G05959475Courtesy of AMERICAN HONDA MOTOR CO., INC.
  16. Use suction cups (A) to hold the quarter glass (B) over the opening, align it with the clips (C) and set it down on the adhesive. Lightly push on the quarter glass until its edges are fully seated on the adhesive all the way around.
    NOTE: Do not open or close any of the doors for about an hour until the adhesive is dry.
    Fig 11: Holding Quarter Glass
    G05959476Courtesy of AMERICAN HONDA MOTOR CO., INC.
  17. Remove the excess adhesive with a putty knife or a shop towel dampened with isopropyl alcohol.
  18. Wait at least one hour for the adhesive to dry, then spray water over the quarter glass and check for leaks. Mark the leaking areas, let the quarter glass dry, then seal with sealant. Let the vehicle stand for at least 4 hours after quarter glass installation. If the vehicle has to be used within the first 4 hours, it must be driven slowly.
  19. Reinstall all remaining removed parts.
    NOTE: Advise the customer not to do the following things for 2 to 3 days:
    • Slam the doors with all the windows rolled up.
    • Twist the body excessively (such as when going in and out of driveways at an angle or driving over rough, uneven roads).