LEMON Manuals: Even more car manuals for everyone: 1960-2025
Home >> Honda >> 2012 >> Fit Base, Standard Trans >> Repair and Diagnosis >> Engine Mechanical >> Mechanical >> Engine Block >> Piston, Pin, and Connecting Rod Replacement >> Reassembly
April 5, 2026: LEMON Manuals is launched! Read the announcement.

Piston, Pin, and Connecting Rod Replacement: Reassembly

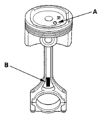
  1. Assemble the piston and connecting rod with the arrow (A) and the embossed mark (B) on the same side.
    Fig 1: Identifying Piston, Connecting Rod & Embossed Mark
    G05952616Courtesy of AMERICAN HONDA MOTOR CO., INC.
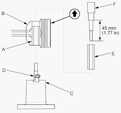
  2. Insert the pilot collar (A) into the piston and the connecting rod.
    Fig 2: Inserting Pilot Collar Into Piston & Connecting Rod
    G05952617Courtesy of AMERICAN HONDA MOTOR CO., INC.
  3. With the arrow on top of the piston and the embossed mark on the connecting rod facing up, place the piston/connecting rod assembly (B) on the piston base head (C). Be sure you position the recessed flat area of the piston against the area of the piston base head (D) as shown.
  4. Press the piston pin (E) in with the adjustable piston pin driver head and insert adjust (F) and a hydraulic press.