LEMON Manuals: Even more car manuals for everyone: 1960-2025
Home >> Honda >> 2012 >> Fit L4-1.5L >> Repair and Diagnosis >> Powertrain Management >> Computers and Control Systems >> Electric Load Sensor >> Service and Repair
April 5, 2026: LEMON Manuals is launched! Read the announcement.

Electric Load Sensor: Service and Repair




ELD Replacement

1. Remove the under-dash fuse/relay box Under-Dash Fuse/Relay Box Removal and Installation (USA Models).

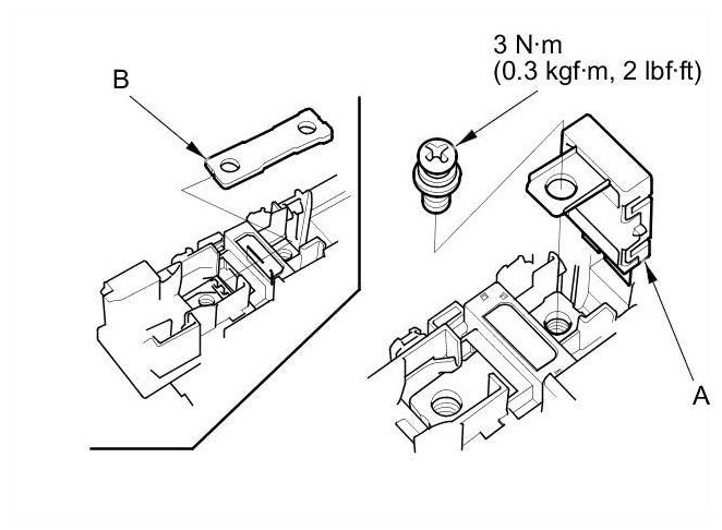
2. Remove the fuse (A).





3. Remove the joint bar (B).

4. Turn over the under-dash fuse/relay box, then remove the ELD (A).





5. Install the parts in the reverse order of removal.