LEMON Manuals: Even more car manuals for everyone: 1960-2025
Home >> Honda >> 2012 >> Fit L4-1.5L >> Repair and Diagnosis >> Starting and Charging >> Charging System >> Alternator >> Service and Repair >> Overhaul
April 5, 2026: LEMON Manuals is launched! Read the announcement.

Overhaul




Alternator Overhaul

Exploded View





Special Tools Required

- Bearing Driver Attachment, 42 x 47 mm 07746-0010300
- Driver Handle, 15 x 135L 07749-0010000

NOTE: Refer to the Exploded View if needed during this procedure.

1. Test the alternator and regulator before you remove them Alternator And Regulator Circuit Troubleshooting.

2. Remove the alternator Removal and Replacement.

Alternator Disassembly

3. Remove the four through bolts.






4. Heat the rear bearing seat with a heat gun until the rear housing reaches (129-140 °F (50-60 °C)).






5. Separate the rear housing from the drive-end housing by inserting a flat-blade screwdriver into the openings, and prying them apart.

NOTE: Be careful not to damage the stator with the tip of the screwdriver.






6. Separate the rear housing (A) and the drive-end housing (B) with the stator (C) attached to the rear housing.






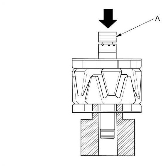
7. If you are not replacing the front bearing and/or the rear bearing, go to step 15. Clamp the rotor (A) in a soft-jawed vise, then remove the pulley locknut.






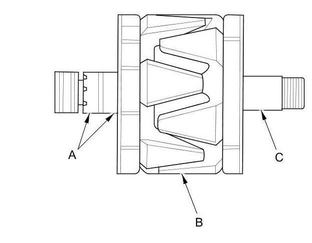
8. Remove the rotor (A).





9. Inspect the rotor shaft for scoring, and inspect the bearing journal surface in the drive-end housing (B) for seizure marks:

- If either the rotor or the drive-end housing is damaged, replace the alternator.
- If both the rotor and the drive-end housing are OK, go to step 10.

10. Remove the rear bearing (A) using the puller as shown.






11. Use a hand press to install a new rear bearing (A). Apply pressure only on the inner race to avoid damaging the bearing.






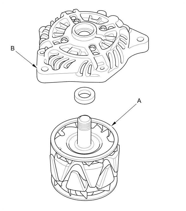
12. Remove the front bearing retainer plate (A).






13. Drive out the front bearing with a brass drift (A) and a hammer.






14. Install a new front bearing in the drive-end housing with a hammer, the driver handle, 15 x 135L (A), and the bearing driver attachment, 42 x 47 mm (B).






15. Remove the stator (A).






16. Remove the terminal insulator (A) and the harness bracket (B).






17. Remove the voltage regulator/brush holder assembly (A) and the rectifier (B).






Rectifier Test

18. Check for continuity in each direction, between the B terminal and P terminals, and between the E terminal and P terminals of each diode pair. All diodes should have continuity in only one direction. Because the rectifier diodes are designed to allow current to pass in one direction, and the rectifier is made up of six diodes (six pairs), you must test each diode in both directions for continuity with an ohmmeter that has diode checking capability: a total of 24 checks:

- If any diode failed, replace the rectifier assembly. (Diodes are not available separately.)
- If all the diodes are OK, go to step 19.










Alternator Brush Inspection

19. Measure the length of both brushes (A) with a vernier caliper:

- If either brush is shorter than the service limit, replace the brushes, go to step 20.
- If brush length is OK, go to step 21.

Alternator Brush Length










20. Unsolder the brush leads from the voltage regulator/brush holder assembly with a 100 W soldering iron (A), then replace the brushes.






Rotor Slip Ring Test

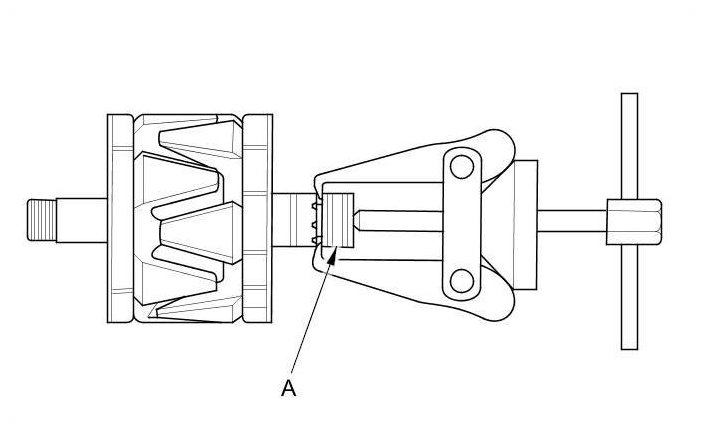
21. Measure the resistance between the slip rings (A):

- If the resistance is within the standard, go to step 22.
- If the resistance is not within the standard, replace the rotor assembly.

Coil (rotor) resistance









22. Check for continuity between each slip ring and the rotor (B) and the rotor shaft (C):

- If there is no continuity, replace the rear housing assembly, go to step 23.
- If there is continuity, replace the rotor assembly.

Stator Test

23. Check that there is continuity between each lead (A):

- If there is continuity, go to step 24.
- If there is no continuity, replace the stator.





24. Check for continuity between each lead and the coil core (B):

- If there is no continuity, go to step 25.
- If there is continuity, replace the stator.

Alternator Reassembly

25. If you removed the pulley, put the rotor in the drive-end housing, then torque its locknut to 110 Nm (11.2 kg-m, 81 lb-ft).

26. Remove any grease or any oil from the slip rings.

27. Install the voltage regulator/brush holder assembly and the rectifier on the rear housing.

28. Install the stator on the rear housing.

29. Push the brushes (A) in, then insert a pin or drill bit (B) (about 1.8 mm (5/64 in) diameter) to hold them there.





30. Heat the rear bearing seat with a heat gun until the rear housing reaches (129-140 °F (50-60 °C)).

31. Put the rear housing assembly (A) and the drive-end housing/rotor assembly (B) together, tighten the four through bolts (C).






32. Pull out the pin.





33. After assembling the alternator, turn the pulley by hand to make sure the rotor turns smoothly and without noise.

34. Install the alternator Removal and Replacement.