LEMON Manuals: Even more car manuals for everyone: 1960-2025
Home >> Honda >> 2012 >> Insight Base >> Repair and Diagnosis >> Body & Frame >> Seats >> Front Seat-Back Cover Replacement
April 5, 2026: LEMON Manuals is launched! Read the announcement.

Front Seat-Back Cover Replacement

Special Tools Required 

KTC Trim Tool Set SOJATP2014*

*Available through the Honda Tool and Equipment Program, 888-424-6857

SRS components are located in this area. Review the SRS component locations (see COMPONENT LOCATION INDEX ) and the precautions and procedures (see PRECAUTIONS AND PROCEDURES ) before doing repairs or service.

Do the OPDS sensor initialization (see ODS UNIT INITIALIZATION ) after front passenger's seat-back cover replacement.

NOTE:
  • Put on gloves to protect your hands.
  • Take care not to tear or damage the seat covers.
  • Use the appropriate tool from the KTC trim tool set to avoid damage when removing components.
  • Passenger's seat: Do not touch the OPDS sensor in the seat-back pad, and keep it away from oil.

Oil can corrode the sensor causing it to fail.

  1. Remove the front seat (see FRONT SEAT REMOVAL/INSTALLATION ).
  2. From under the seat cushion, pull the outside area of the seat cushion cover (A) back, and release the Velcro fastener (B). The driver's seat is shown; the passenger's seat is similar.
    Fig 1: Pulling Outside Area Of Seat Cushion Cover Back
    G08094139Courtesy of AMERICAN HONDA MOTOR CO., INC.
  3. From under the seat cushion, remove the wire ties (A), and detach the wire harness clip (B) and the side airbag connector (C), then pull the wire harness out from under the seat cushion.

    Driver's seat 

    Fig 2: Identifying Driver's Seat Wire Ties, Wire Harness Clip And Side Airbag Connector
    G08094140Courtesy of AMERICAN HONDA MOTOR CO., INC.

    Passenger's seat 

    Fig 3: Identifying Passenger's Seat Wire Ties, Wire Harness Clip And Side Airbag Connector
    G08094141Courtesy of AMERICAN HONDA MOTOR CO., INC.
  4. From behind the seat-back, release the hook strip (A), and unzip the seat-cover (B).
    Fig 4: Releasing Hook Strip And Seat-Cover
    G08094142Courtesy of AMERICAN HONDA MOTOR CO., INC.
  5. Pull back the seat-back cover (A), then release the hook strips (B) from the seat-back frame.
    Fig 5: Pulling Back Seat-Back Cover
    G08094143Courtesy of AMERICAN HONDA MOTOR CO., INC.
  6. Release airbag attachment wire A and airbag attachment wire B from the seat-back frame (C).
    Fig 6: Releasing Airbag Attachment Wire A And Airbag Attachment Wire B From Seat-Back Frame
    G08094144Courtesy of AMERICAN HONDA MOTOR CO., INC.
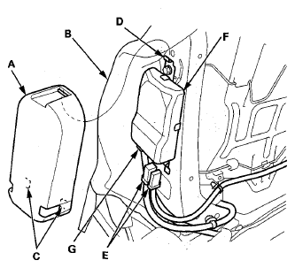
  7. Passenger's seat: Remove the ODS unit cover (A).
    1. Turn over the seat-back cover/pad (B) as needed.
    2. Release the cover from the lower hooks (C).
    3. Pull the cover upward to release it from the upper hook (D).
      Fig 7: Identifying ODS Unit Cover, Seat-Back Cover/Pad And Lower Hooks
      G08094145Courtesy of AMERICAN HONDA MOTOR CO., INC.
  8. Passenger's seat: Disconnect the OPDS sensor connectors (E) from the ODS unit (F).
    NOTE: Do not disconnect the ODS unit connector (G).
  9. Passenger's seat: Detach the harness clips (A) fastening the OPDS sensor harness (B).
    Fig 8: Identifying OPDS Sensor Harness And Clips
    G08094146Courtesy of AMERICAN HONDA MOTOR CO., INC.
  10. Passenger's seat: Pull out the side airbag harness (A) and the ODS unit harness (B) through the hole (C) in the seat-back pad (D) and the seat-back cover (E).
    Fig 9: Pulling Side Airbag Harness And ODS Unit Harness Through Hole
    G08094147Courtesy of AMERICAN HONDA MOTOR CO., INC.
  11. Driver's seat: Pull out the side airbag harness (A) through the harness hole (B) in the seat-back cover (C).
    Fig 10: Pulling Side Airbag Harness Through Harness Hole In Seat-Back Cover
    G08094148Courtesy of AMERICAN HONDA MOTOR CO., INC.
  12. Pinch the tabs (A) on the end of the head restraint guides (B), and remove the guides from the seat-back.
    Fig 11: Pinching Tabs On End Of Head Restraint Guides
    G08094149Courtesy of AMERICAN HONDA MOTOR CO., INC.
  13. Remove the seat-back cover/pad (A) from the seat-back frame (B).
    Fig 12: Identifying Seat-Back Cover/Pad And Seat-Back Frame
    G08094150Courtesy of AMERICAN HONDA MOTOR CO., INC.
  14. Pull back the edge of the seat-back cover all the way around, and release the clips (A), then remove the seat-back cover (B).
    Fig 13: Identifying Seat-Back Cover And Clips
    G08094151Courtesy of AMERICAN HONDA MOTOR CO., INC.
  15. Remove airbag attachment wire A from the inside reinforcing cloth (C) and airbag attachment wire B from the outside reinforcing cloth (D).
    Fig 14: Identifying Airbag Attachment Wire A And Inside Reinforcing Cloth
    G08094152Courtesy of AMERICAN HONDA MOTOR CO., INC.
  16. Install the cover in the reverse order of removal, and note these items:
    • To prevent wrinkles when installing a seat-back cover, make sure the material is stretched evenly over the pad before securing the clips, the hooks, and the hook strips.
    • Before installing the seat-back cover, make sure airbag attachment wires A, B are installed correctly in the reinforcing cloths (G).
    • Replace any clips (D) you removed with new ones.
    • Reinstall airbag attachment wires A, B securely.
    • Use only original Honda replacement seat-back covers.
    • Make sure the side airbag harness and the ODS unit harness (passenger's seat) are routed properly.
      Fig 15: Installing Airbag Attachment Wires In Reinforcing Cloths
      G08094153Courtesy of AMERICAN HONDA MOTOR CO., INC.