LEMON Manuals: Even more car manuals for everyone: 1960-2025
Home >> Honda >> 2012 >> Insight Base >> Repair and Diagnosis >> Electrical >> Body Electrical >> Fuse/Relay Boxes >> Connector to Fuse/Relay Box Index
April 5, 2026: LEMON Manuals is launched! Read the announcement.

Connector to Fuse/Relay Box Index

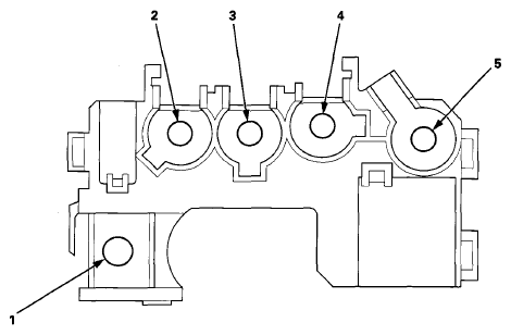
Battery Terminal Fuse Box 

Fig 1: Identifying Battery Terminal Fuse Box
G08094499Courtesy of AMERICAN HONDA MOTOR CO., INC.
BATTERY TERMINAL FUSE BOX

Socket Ref Terminal Connects to
T-1 1 -- Battery terminal. Starter (see CONNECTOR TO HARNESS INDEX )
T-2 2 -- DC-DC converter cable (included in the IMA motor power cable) (see Table 23 on CONNECTOR TO HARNESS INDEX )
T-3 3 -- Left engine compartment wire harness (see Table 11 on CONNECTOR TO HARNESS INDEX )
T-4 4 -- Left engine compartment wire harness (see Table 11 on CONNECTOR TO HARNESS INDEX )
T-5 5 -- Left engine compartment wire harness (see Table 11 on CONNECTOR TO HARNESS INDEX )

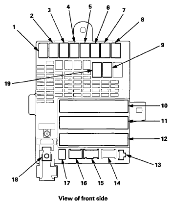
Under-Dash Fuse/Relay Box 

Fig 2: Identifying Under-Dash Fuse/Relay Box (View Of Front Side)
G08094500Courtesy of AMERICAN HONDA MOTOR CO., INC.
UNDER-DASH FUSE/RELAY BOX

Socket Ref Terminals Connects to
A 10 36 Right engine compartment wire harness (see Table 10 on CONNECTOR TO HARNESS INDEX )
A/F sensor relay 3 4  
B 11 36 Left engine compartment wire harness (see Table 13 on CONNECTOR TO HARNESS INDEX )
Blower motor relay 2 4  
C 12 49 Driver's side wire harness (see Table 22 on CONNECTOR TO HARNESS INDEX )
Driver's door unlock relay 19 5  
E 17 12 Driver's door wire harness (see Table 34 on CONNECTOR TO HARNESS INDEX )
Electronic throttle control system (ETCS) control relay 7 4  
F 16 6 Driver's door wire harness (see Table 34 on CONNECTOR TO HARNESS INDEX )
G 15 8 Roof wire harness (see Table 28 on CONNECTOR TO HARNESS INDEX )
H (optional connector) 14 8 Not used
Ignition coil relay 5 4  
J (MICU service check connector) 13 3  
K 20 10 Dashboard wire harness (see Table 14 on CONNECTOR TO HARNESS INDEX )
Lighting relay 4 4  
M 21 34 Dashboard wire harness (see Table 14 on CONNECTOR TO HARNESS INDEX )
N 22 8 Dashboard wire harness (see Table 14 on CONNECTOR TO HARNESS INDEX )
P (SRS) 30 4 Dashboard wire harness (see Table 14 on CONNECTOR TO HARNESS INDEX )
PGM-FI main relay 1 6 4  
Power window relay 1 4  
Q 29 16 Dashboard wire harness (see Table 14 on CONNECTOR TO HARNESS INDEX )
R 28 -- Not used
Rear window defogger relay 8 4  
S 24 3 Dashboard wire harness (see Table 14 on CONNECTOR TO HARNESS INDEX )
Starter cut relay 9 4  
T 25 2 Dashboard wire harness (see Table 14 on CONNECTOR TO HARNESS INDEX )
W 23 1 Dashboard wire harness (see Table 14 on CONNECTOR TO HARNESS INDEX )
X 27 3 Dashboard wire harness (see Table 14 on CONNECTOR TO HARNESS INDEX )
Y (Electrical load detector) 26 3 Dashboard wire harness (see Table 14 on CONNECTOR TO HARNESS INDEX )
T-9 18 -- Left engine compartment wire harness (see Table 13 on CONNECTOR TO HARNESS INDEX )
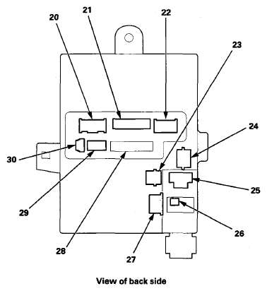
Fig 3: Identifying Under-Dash Fuse/Relay Box (View Of Back Side)
G08094501Courtesy of AMERICAN HONDA MOTOR CO., INC.

Auxiliary Under-Hood Fuse/Relay Box 

Fig 4: Identifying Auxiliary Under-Hood Fuse/Relay Box
G08094502Courtesy of AMERICAN HONDA MOTOR CO., INC.
AUXILIARY UNDER-HOOD FUSE/RELAY BOX

Socket Ref Terminals Connects to
Fan control relay 1 5 Left engine compartment wire harness (see Table 11 on CONNECTOR TO HARNESS INDEX )
PGM-FI main relay 2 2 4 Left engine compartment wire harness (see Table 11 on CONNECTOR TO HARNESS INDEX )

Auxiliary Under-Hood Relay Box 

Fig 5: Identifying Auxiliary Under-Hood Relay Box
G08094503Courtesy of AMERICAN HONDA MOTOR CO., INC.
AUXILIARY UNDER-HOOD RELAY BOX

Socket Ref Terminals Connects to
A/C condenser fan relay 3 4 Left engine compartment wire harness (see Table 11 on CONNECTOR TO HARNESS INDEX )
Radiator fan relay 4 4 Left engine compartment wire harness (see Table 11 on CONNECTOR TO HARNESS INDEX )
A/C compressor clutch relay 5 4 Left engine compartment wire harness (see Table 11 on CONNECTOR TO HARNESS INDEX )
A/C diode A 6 2 Left engine compartment wire harness (see Table 11 on CONNECTOR TO HARNESS INDEX )
A/C diode B 7 2 Left engine compartment wire harness (see Table 11 on CONNECTOR TO HARNESS INDEX )

Under-Dash Relay Holder 

Fig 6: Identifying Under-Dash Relay Holder
G08094504Courtesy of AMERICAN HONDA MOTOR CO., INC.
UNDER-DASH RELAY HOLDER

Socket Ref Terminal Connects to
Hatch release actuator relay 1 5 Dashboard wire harness (see Table 14 on CONNECTOR TO HARNESS INDEX )

IPU Relay Holder 

Fig 7: Identifying IPU Relay Holder
G08094505Courtesy of AMERICAN HONDA MOTOR CO., INC.
IPU RELAY HOLDER

Socket Ref Terminal Connects to
Motor control module (MCM) relay 1 1 4 IPU wire harness (see Table 24 on CONNECTOR TO HARNESS INDEX )
Motor control module (MCM) relay 2 2 4 IPU wire harness (see Table 24 on CONNECTOR TO HARNESS INDEX )