LEMON Manuals: Even more car manuals for everyone: 1960-2025
Home >> Honda >> 2012 >> Insight Base >> Repair and Diagnosis >> Engine Mechanical >> Mechanical >> Engine Block >> Oil Pan Installation
April 5, 2026: LEMON Manuals is launched! Read the announcement.

Oil Pan Installation

  1. Remove all of the old liquid gasket from the oil pan mating surfaces, the bolts, and the bolt holes.
  2. Clean and dry the oil pan mating surfaces and the O-ring groove.
  3. Install the new oil pan gasket (A), the new O-ring (B), and the dowel pins (C) on the oil pan.
    Fig 1: Identifying Oil Pan Gasket, O-Ring And Dowel Pins
    G08092015Courtesy of AMERICAN HONDA MOTOR CO., INC.
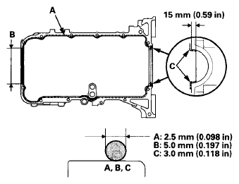
  4. Apply liquid gasket (P/N 08717-0004, 08718-0003, or 08718-0009) to the engine block mating surface of the oil pan and to the inside edge of the bolt holes. Install the component within 5 minutes of applying the liquid gasket.
    NOTE:
    • Apply a 2.5 mm (0.098 in) diameter bead of liquid gasket along the broken line (A).
    • Apply a 5.0 mm (0.197 in) diameter bead of liquid gasket to the shaded area (B).
    • Apply a 3.0 mm (0.118 in) diameter bead of liquid gasket to the broken line (C).
    • If you apply liquid gasket P/N 08718-0012, the component must be installed within 4 minutes.
    • If too much time has passed after applying the liquid gasket, remove the old liquid gasket and residue, then reapply new liquid gasket.
      Fig 2: Identifying Liquid Gasket Applying Areas Of Engine Block Mating Surface
      G08092016Courtesy of AMERICAN HONDA MOTOR CO., INC.
  5. Install the oil pan.
    NOTE:
    • Raise the oil pan carefully so as not to damage the IMA motor rotor position sensor.
    • Wait at least 30 minutes before filling the engine with oil.
    • Do not run the engine for at least 3 hours after installing the oil pan.
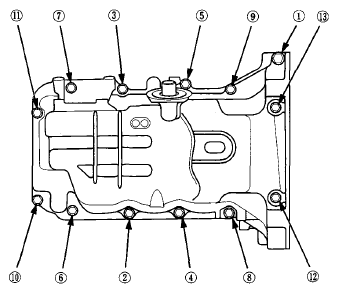
    • Make sure to install the bolts in the correct locations according to size.
      Fig 3: Identifying Oil Pan With Mounting Bolts
      G08092017Courtesy of AMERICAN HONDA MOTOR CO., INC.
  6. Tighten the bolts in three steps. Wipe off the excess liquid gasket from crankshaft pulley end and the drive plate end.
    Fig 4: Tightening Sequence Of Oil Pan Mounting Bolts
    G08092018Courtesy of AMERICAN HONDA MOTOR CO., INC.
  7. Install the transmission mounting bolts.
    Fig 5: Transmission Mounting Bolts With Torque Specifications
    G08092019Courtesy of AMERICAN HONDA MOTOR CO., INC.
  8. Connect the CKP sensor connector (A), then install the CKP sensor cover (B).
    Fig 6: CKP Sensor Connector And Cover With Torque Specifications
    G08092020Courtesy of AMERICAN HONDA MOTOR CO., INC.
  9. Install the dipstick tube (A) with a new O-ring (B), then install the dipstick.
    Fig 7: Dipstick Tube, O-Ring And Mounting Bolts With Torque Specifications
    G08092021Courtesy of AMERICAN HONDA MOTOR CO., INC.
  10. If the engine is still in the vehicle, do steps 11 through  15.
  11. Install the A/C compressor (see step 32 on ENGINE INSTALLATION ).
  12. Install the driveshaft heat shield (see step 27 on ENGINE INSTALLATION ).
  13. Install the drive belt (see DRIVE BELT REPLACEMENT ).
  14. Install the splash shield (see SPLASH SHIELD REPLACEMENT ).
  15. Refill the engine with engine oil (see step 6 on ENGINE OIL REPLACEMENT ).