LEMON Manuals: Even more car manuals for everyone: 1960-2025
Home >> Honda >> 2012 >> Insight Base >> Repair and Diagnosis >> Engine Performance >> System >> Advanced Diagnostics >> DTC P15C4 (118): Auto Idle Stop System Malfunction >> Notes
April 5, 2026: LEMON Manuals is launched! Read the announcement.

DTC P15C4 (118): Auto Idle Stop System Malfunction: Notes

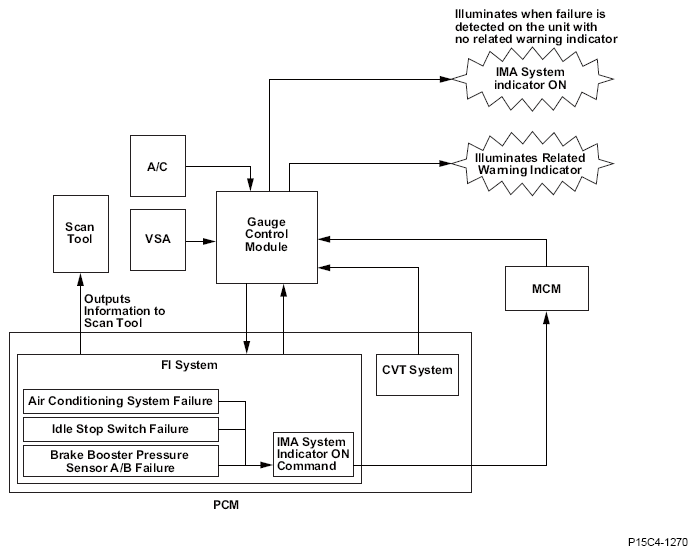
Fig 1: Auto Idle Stop System Operation Diagram
G08568627