LEMON Manuals: Even more car manuals for everyone: 1960-2025
Home >> Honda >> 2012 >> Insight Base >> Repair and Diagnosis >> External Pages >> Different car >> Section 2 (IMA System) >> Battery Module Removal/Installation
April 5, 2026: LEMON Manuals is launched! Read the announcement.

Battery Module Removal/Installation

WARNING: This page is about a different car, the 2011 Honda Insight and 2010 Honda Insight. However, it is still accessible from the selected car via links, so may be relevant.

IMA components are located in this area. The IMA is a high-voltage system. You must be familiar with the IMA system before working on or around it. Make sure you have read the IMA service precautions before doing repairs or service (see SERVICE PRECAUTIONS  ).

  1. Make sure the ignition switch is in LOCK (0).
  2. Do the 12 volt battery terminal disconnection procedure (see 12 VOLT BATTERY TERMINAL DISCONNECTION AND RECONNECTION ).
  3. Remove the IPU case (see IPU CASE REMOVAL/INSTALLATION  ).
  4. Remove the IPU module front air duct (A).
    Fig 1: Identifying IPU Module Front Air Duct
    G06429962Courtesy of AMERICAN HONDA MOTOR CO., INC.
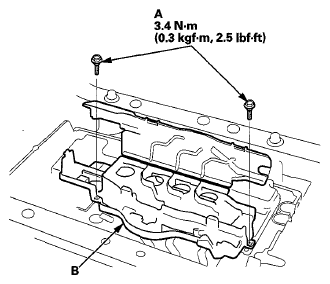
  5. Remove the bolts (A), IPU frames (B), and the ground bolt (C).
    Fig 2: Bolts With Torque Specifications, IPU Frames, And Ground Bolt
    G06429963Courtesy of AMERICAN HONDA MOTOR CO., INC.
  6. Disconnect the connectors (A, B, C).
    Fig 3: Identifying IPU Connectors
    G06429964Courtesy of AMERICAN HONDA MOTOR CO., INC.
  7. Remove the IPU wire harness (D).
  8. Disconnect MCM connector (A).
    Fig 4: Identifying MCM Connector
    G06429965Courtesy of AMERICAN HONDA MOTOR CO., INC.
  9. Remove the bolts (A, B) and the PCU busplate (C).
    Fig 5: Bolts With Torque Specifications And PCU Busplate
    G06429966Courtesy of AMERICAN HONDA MOTOR CO., INC.
  10. Remove the bolts (A) and the PCU cover (B).
    Fig 6: Bolts With Torque Specifications And PCU Cover
    G06429967Courtesy of AMERICAN HONDA MOTOR CO., INC.
  11. Disconnect the MCM connectors (A).
    Fig 7: Bolts With Torque Specifications, MCM And Connectors
    G06429968Courtesy of AMERICAN HONDA MOTOR CO., INC.
  12. Remove the bolts (B) and the MCM (C).
  13. Remove the bolts (A) and the terminal cover (B).
    Fig 8: Bolts With Torque Specifications And Terminal Cover
    G06429969Courtesy of AMERICAN HONDA MOTOR CO., INC.
  14. Disconnect the phase motor current sensor connector (A).
    Fig 9: Bolts With Torque Specifications And Phase Motor Current Sensor Connector
    G06429970Courtesy of AMERICAN HONDA MOTOR CO., INC.
  15. Remove the bolts (B, C) and the phase motor current sensor (D).
  16. Remove the bolts (A, B) and the PCU wire harness (C).
    Fig 10: Bolts With Torque Specifications And PCU Wire Harness
    G06429971Courtesy of AMERICAN HONDA MOTOR CO., INC.
  17. Remove the bolts (A) and the MPI module (B).
    Fig 11: Bolts With Torque Specifications And MPI Module
    G06429972Courtesy of AMERICAN HONDA MOTOR CO., INC.
  18. Install the parts in the reverse order of removal,
  19. Do the 12 volt battery terminal reconnection procedure (see 12 VOLT BATTERY TERMINAL DISCONNECTION AND RECONNECTION ).