LEMON Manuals: Even more car manuals for everyone: 1960-2025
Home >> Honda >> 2012 >> Insight Base >> Repair and Diagnosis >> External Pages >> Different car >> Section 2 (IMA System) >> DC-DC Converter Removal/Installation
April 5, 2026: LEMON Manuals is launched! Read the announcement.

DC-DC Converter Removal/Installation

WARNING: This page is about a different car, the 2011 Honda Insight and 2010 Honda Insight. However, it is still accessible from the selected car via links, so may be relevant.

IMA components are located in this area. The IMA is a high-voltage system. You must be familiar with the IMA system before working on or around it. Make sure you have read the IMA service precautions before doing repairs or service (see SERVICE PRECAUTIONS  ).

  1. Make sure the ignition switch is in LOCK (0).
  2. Do the 12 volt battery terminal disconnection procedure (see 12 VOLT BATTERY TERMINAL DISCONNECTION AND RECONNECTION ).
  3. Remove the MCM (see MOTOR CONTROL MODULE (MCM) REMOVAL/INSTALLATION  ).
  4. Remove the IMA motor power cables (A).
    NOTE: Check the position of the U phase, the V phase, and the W phase cables before disconnecting them.
    Fig 1: Bolts With Torque Specifications And IMA Motor Power Cables Connections
    G06429954Courtesy of AMERICAN HONDA MOTOR CO., INC.
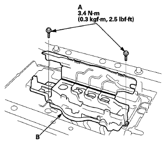
  5. Remove the DC-DC converter cable (B), and wrap it with insulating tape.
  6. Remove the bolts (A) and the terminal cover (B).
    Fig 2: Bolts With Torque Specifications And Terminal Cover
    G06429952Courtesy of AMERICAN HONDA MOTOR CO., INC.
  7. Disconnect the DC-DC converter connector (A).
    Fig 3: DC-DC Converter, Bolts With Torque Specifications, Busbar And Connector
    G06429953Courtesy of AMERICAN HONDA MOTOR CO., INC.
  8. Remove the bolts (B) and the busbar (C).
  9. Remove the bolts (D, E) and the DC-DC converter (F).
  10. Install the parts in the reverse order of removal.
  11. Do the 12 volt battery terminal reconnection procedure (see 12 VOLT BATTERY TERMINAL DISCONNECTION AND RECONNECTION ).