LEMON Manuals: Even more car manuals for everyone: 1960-2025
Home >> Honda >> 2012 >> Insight Base >> Repair and Diagnosis >> External Pages >> Different car >> Section 33 (Engine Block) >> Piston, Pin, and Connecting Rod Replacement >> Reassembly
April 5, 2026: LEMON Manuals is launched! Read the announcement.

Piston, Pin, and Connecting Rod Replacement: Reassembly

WARNING: This page is about a different car, the 2011 Honda Insight and 2010 Honda Insight. However, it is still accessible from the selected car via links, so may be relevant.
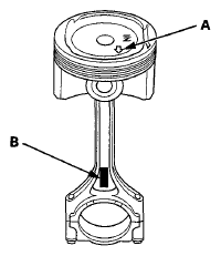
  1. Assemble the piston with the arrow (A) pointing up and the connecting rod with the embossed mark (B) on the same side.
    Fig 1: Identifying Piston And Connecting Rod Installation Position
    G06429000Courtesy of AMERICAN HONDA MOTOR CO., INC.
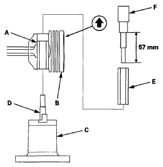
  2. Insert the pilot collar (A) into the piston and the connecting rod.
    Fig 2: Inserting Pilot Collar Into Piston And Connecting Rod
    G06429001Courtesy of AMERICAN HONDA MOTOR CO., INC.
  3. With the arrow on top of the piston and the embossed mark on the connecting rod facing up, place the piston assembly (B) on the piston base (C). Be sure you position the recessed flat area of the piston against the piston base head inserts (D) as shown.
  4. Press the pin (E) in with the piston pin driver (F) and a hydraulic press.