LEMON Manuals: Even more car manuals for everyone: 1960-2025
Home >> Honda >> 2012 >> Insight Base >> Repair and Diagnosis >> External Pages >> Different car >> Section 57 (Interior Lights) >> Individual Map Light Test/Replacement
April 5, 2026: LEMON Manuals is launched! Read the announcement.

Individual Map Light Test/Replacement

WARNING: This page is about a different car, the 2010 Honda Insight. However, it is still accessible from the selected car via links, so may be relevant.
  1. Turn the individual map light switch OFF.
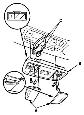
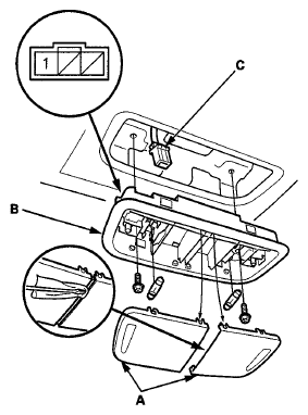
  2. Carefully pry the lens (A) off with a small screwdriver.

    Individual Map Light: 8 W x 2 

    With navigation 

    Fig 1: Identifying Lens, Map Light And Connector - With Navigation
    G06431609Courtesy of AMERICAN HONDA MOTOR CO., INC.

    Without navigation 

    Fig 2: Identifying Lens, Map Light And Connector - Without Navigation
    G06431610Courtesy of AMERICAN HONDA MOTOR CO., INC.
  3. Remove the screws, then remove the individual map light (B).
  4. Disconnect the connector(s) (C) from the individual map light.
  5. Check for continuity between the terminals.
    • There should be continuity between the terminal No. 1 and ground terminal with the switch in the ON position.
    • There should be no continuity between the terminal No. 1 and ground terminal with the switch in the OFF position.
  6. If the continuity is not as specified, check the bulb. If the bulb is OK, replace the individual map light.
  7. Install the light in the reverse order of removal.