LEMON Manuals: Even more car manuals for everyone: 1960-2025
Home >> Honda >> 2012 >> Insight Base >> Repair and Diagnosis >> External Pages >> Different car >> Section 58 (Audio System) >> Speaker Test/Replacement >> Tweeter
April 5, 2026: LEMON Manuals is launched! Read the announcement.

Speaker Test/Replacement: Tweeter

WARNING: This page is about a different car, the 2011 Honda Insight and 2010 Honda Insight. However, it is still accessible from the selected car via links, so may be relevant.
NOTE:
  • Be careful not to damage the tweeter grille and the dashboard.
  • When prying with a flat-tip screwdriver, wrap it with protective tape to prevent damage.
  1. Carefully pry the tweeter grille (A) out of the dashboard.
    Fig 1: Prying Tweeter Grille Out Of Dashboard
    G06431889Courtesy of AMERICAN HONDA MOTOR CO., INC.
  2. Disconnect the 2P connector (B) from the tweeter.
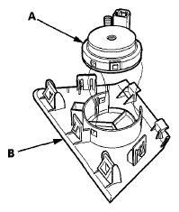
  3. Remove the tweeter (A) from the speaker grille (B).
    Fig 2: Identifying Tweeter From Speaker Grille
    G06431890Courtesy of AMERICAN HONDA MOTOR CO., INC.
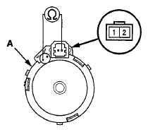
  4. Check the capacitor condition. If any malfunction is found, replace the tweeter.
  5. Measure the resistance between the tweeter (A) terminal No. 2 and the outside terminal of the capacitor. There should be about 4 Ω.
    Fig 3: Measuring Resistance Between Tweeter Terminal No. 2 And Outside Terminal Of Capacitor
    G06431891Courtesy of AMERICAN HONDA MOTOR CO., INC.
  6. If the resistance is not as specified, replace the tweeter.
  7. Install the tweeter in the reverse order of removal.