LEMON Manuals: Even more car manuals for everyone: 1960-2025
Home >> Honda >> 2012 >> Insight Base >> Repair and Diagnosis >> External Pages >> Different car >> Section 64 (Keyless/Power Door Locks/Security System) >> Transmitter Test >> With HDS
April 5, 2026: LEMON Manuals is launched! Read the announcement.

With HDS

WARNING: This page is about a different car, the 2011 Honda Insight and 2010 Honda Insight. However, it is still accessible from the selected car via links, so may be relevant.
  1. Press the transmitter lock or unlock button at least 10 times to reset the transmitter.
    • If the locks work, the transmitter is OK.
    • If any of the transmitter buttons do not work, replace the transmitter, then register the transmitter programming (see IMMOBILIZER KEY REGISTRATION ).
    • If the locks don't work, go to step 2.
  2. Connect the HDS to the data link connector.
  3. Select the KEYLESS TRANSMITTER from the BODY ELECTRICAL menu, next select INSPECTION, then enter the KEYLESS CHECK.
  4. Follow the screen prompts to check each button operation.
    NOTE: The door lock actuators may or may not cycle when receiving input from the transmitter.
    • If KEYLESS ENTRY TRANSMITTER CODE RECEIVED is indicated, the transmitter is OK.
    • If DIFFERENT KEYLESS ENTRY TRANSMITTER CODE IS RECEIVED is indicated, the transmitter is working but not registered to the vehicle. If necessary, reprogram and register the transmitter (see IMMOBILIZER KEY REGISTRATION ).
    • If KEYLESS ENTRY TRANSMITTER CODE IS NOT RECEIVED is indicated, go to step 5.
  5. Open the transmitter, and check for water damage.
    • If you find any water damage, replace the transmitter, then register the new transmitter.
    • If there is no water damage, go to step 6.
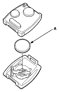
    Fig 1: Exploded View Of Transmitter
    G06431539Courtesy of AMERICAN HONDA MOTOR CO., INC.
  6. Replace the transmitter battery (A) with a new one, and press the lock or unlock button and check the receive condition on the screen of the HDS.
    • If KEYLESS ENTRY TRANSMITTER CODE IS RECEIVED is indicated, the transmitter is OK.
    • If KEYLESS ENTRY TRANSMITTER CODE IS NOT RECEIVED is indicated, go to step 7.
    Fig 2: Identifying Transmitter Battery
    G06431540Courtesy of AMERICAN HONDA MOTOR CO., INC.
  7. Use a different known-good keyless transmitter assembly, and repeat steps  3 and  4.
    NOTE: The keyless transmitter does not need to be programmed to the vehicle for this test.
    • If DIFFERENT KEYLESS ENTRY TRANSMITTER CODE WAS RECEIVED is indicated, replace the keyless transmitter, and do the immobilizer system registration (see IMMOBILIZER KEY REGISTRATION ).
    • If KEYLESS ENTRY TRANSMITTER CODE WAS NOT RECEIVED is indicated, the immobilizer-keyless control unit is faulty, replace it, and do the immobilizer system registration (see IMMOBILIZER KEY REGISTRATION ).
    NOTE: The keyless transmitter is combined with the immobilizer transponder, so when the transponder is registered by the HDS, the keyless transmitter is also registered automatically.