LEMON Manuals: Even more car manuals for everyone: 1960-2025
Home >> Honda >> 2012 >> Insight Base >> Repair and Diagnosis >> Transmission >> Automatic Trans >> CVT >> Thrust Clearance Inspection
April 5, 2026: LEMON Manuals is launched! Read the announcement.

Thrust Clearance Inspection

NOTE: If the transmission housing, the flywheel housing, the final drive shaft, the secondary driven gear, or the final drive shaft bearing is replaced, the final drive shaft thrust clearance must be adjusted with a 25 x 35 mm thrust shim.
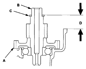
  1. Install the secondary driven gear (A) on the final drive shaft (B), then install the final drive shaft in the transmission housing. Install the existing 25 x 35 mm thrust washer (C).
    Fig 1: Measuring Distance Between Transmission Housing Surface And Thrust Shim Surface On Final Drive Shaft
    G08093380Courtesy of AMERICAN HONDA MOTOR CO., INC.

    Final Drive Shaft Cutaway View 

    Fig 2: Cutaway View Of Final Drive Shaft
    G08093381Courtesy of AMERICAN HONDA MOTOR CO., INC.
  2. Measure the distance (D) between the transmission housing surface and the thrust shim surface on the final drive shaft, then note the measurement (measurement D).
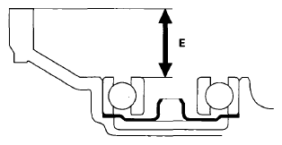
  3. Measure the distance (E) between the flywheel housing surface and the bearing inner race surface, then note the measurement (measurement E).
    Fig 3: Measuring Distance Between Flywheel Housing Surface And Bearing Inner Race Surface
    G08093382Courtesy of AMERICAN HONDA MOTOR CO., INC.

    Final Drive Shaft Bearing Cutaway View 

    Fig 4: Cutaway View Of Final Drive Shaft Bearing
    G08093383Courtesy of AMERICAN HONDA MOTOR CO., INC.
  4. Calculate the final drive shaft thrust clearance using the formula:

    Clearance 

    = Measurement D-Measurement E+ Flywheel housing gasket thickness 

    Standard: 0-0.15 mm (0-0.0059 in) 

    NOTE: The standard of the clearance includes thickness of the flywheel housing gasket (0.5 mm, 0.02 in)
  5. If the clearance is out of standard, remove the 25 x 35 mm thrust shim, and measure its thickness.
  6. Select a new 25 x 35 mm thrust shim from the following table and install it, then recheck that the clearance is within the standard.
    THRUST SHIM, 25 x 35 MM

    No. Thickness
    A 2.80 mm (0.1102 in)
    B 2.90 mm (0.1142 in)
    C 3.00 mm (0.1181 in)
    D 3.10 mm (0.1220 in)
    E 3.20 mm (0.1260 in)
    F 3.30 mm (0.1299 in)
    G 3.40 mm (0.1339 in)
    H 3.50 mm (0.1378 in)
    I 3.60 mm (0.1417 in)
    J 3.70 mm (0.1457 in)
    K 3.80 mm (0.1496 in)
    L 3.90 mm (0.1535 in)
    M 4.00 mm (0.1575 in)